EasyManua.ls Logo

TYM T723 - Page 21

TYM T723
259 pages
Print Icon
To Next Page IconTo Next Page
To Next Page IconTo Next Page
To Previous Page IconTo Previous Page
To Previous Page IconTo Previous Page
Loading...
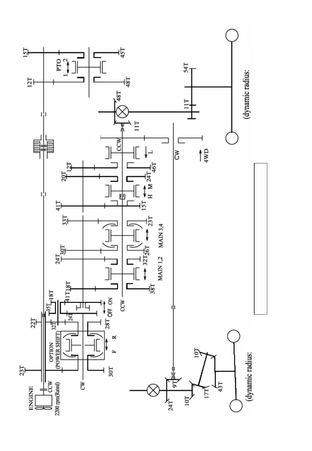
SECTION 3. GEAR TRAIN DIAGRAMS
1-20
Fig.1-3 GEAR TRAIN DIAGRAM
* CCW : Rotation that is viewed from the flywheel
695)
515)
16.9-30
11.2-24
29T
23T

Table of Contents

Related product manuals