EasyManua.ls Logo

WinGD X72-B - Axial Vibration Damper; Axial Vibration Damper (Generic)

Default Icon
526 pages
Print Icon
To Next Page IconTo Next Page
To Next Page IconTo Next Page
To Previous Page IconTo Previous Page
To Previous Page IconTo Previous Page
Loading...
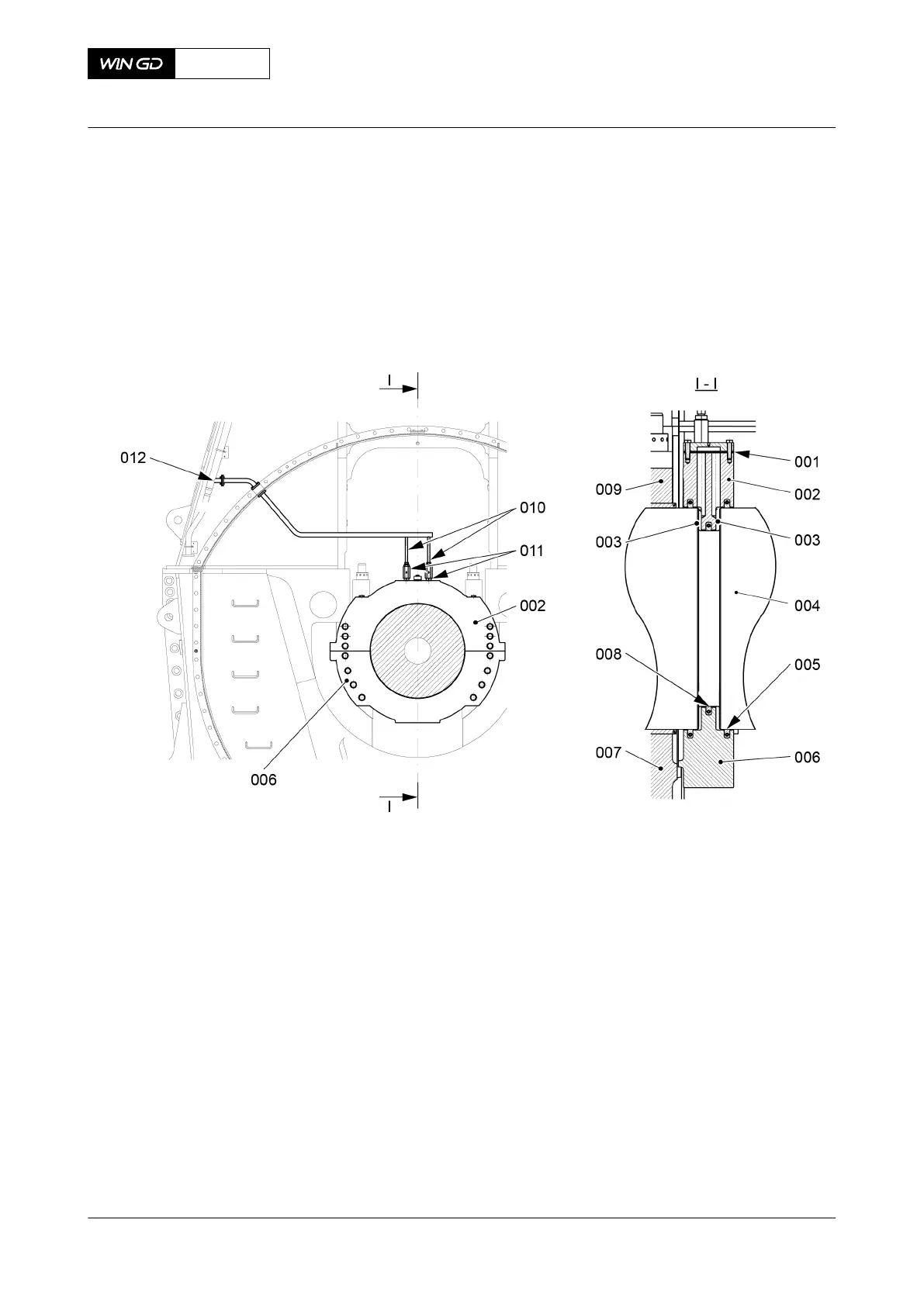
5.3.3 Axial vibration damper
The axial vibration damper decreases the axial vibrations of the crankshaft. The axial vibration
damper is attached with bolts to the last bearing girder at the free end of the engine.
The axial vibration damper includes a top cylinder half (002, Figure 5-14) and a bottom cylinder
half (006).
Fig 5-14 Axial vibration damper (generic)
Legend
001 Control plate 007 Bearing girder (part of bedplate)
002 Top cylinder half 008 Small sealing ring
003 Annular space 009 Bearing cover
004 Crankshaft 010 Inlet pipe
005 Large sealing ring 011 Non-return valve
006 Bottom cylinder half 012 Oil inlet
X72-B
AA00-3140-00AAA-043A-A
Operation Manual Axial vibration damper
Winterthur Gas & Diesel Ltd.
- 166 - Issue 003 2021-12

Table of Contents

Related product manuals