EasyManua.ls Logo

Zeiss Axio Vert.A1 - 3.1.6 Attaching Microscope Stages

Zeiss Axio Vert.A1
106 pages
Print Icon
To Next Page IconTo Next Page
To Next Page IconTo Next Page
To Previous Page IconTo Previous Page
To Previous Page IconTo Previous Page
Loading...
PUTTING THE INSTRUMENT INTO OPERATION
Carl Zeiss Mounting Standard Components Axio Vert.A1
44 431030-7044-001 05/2012
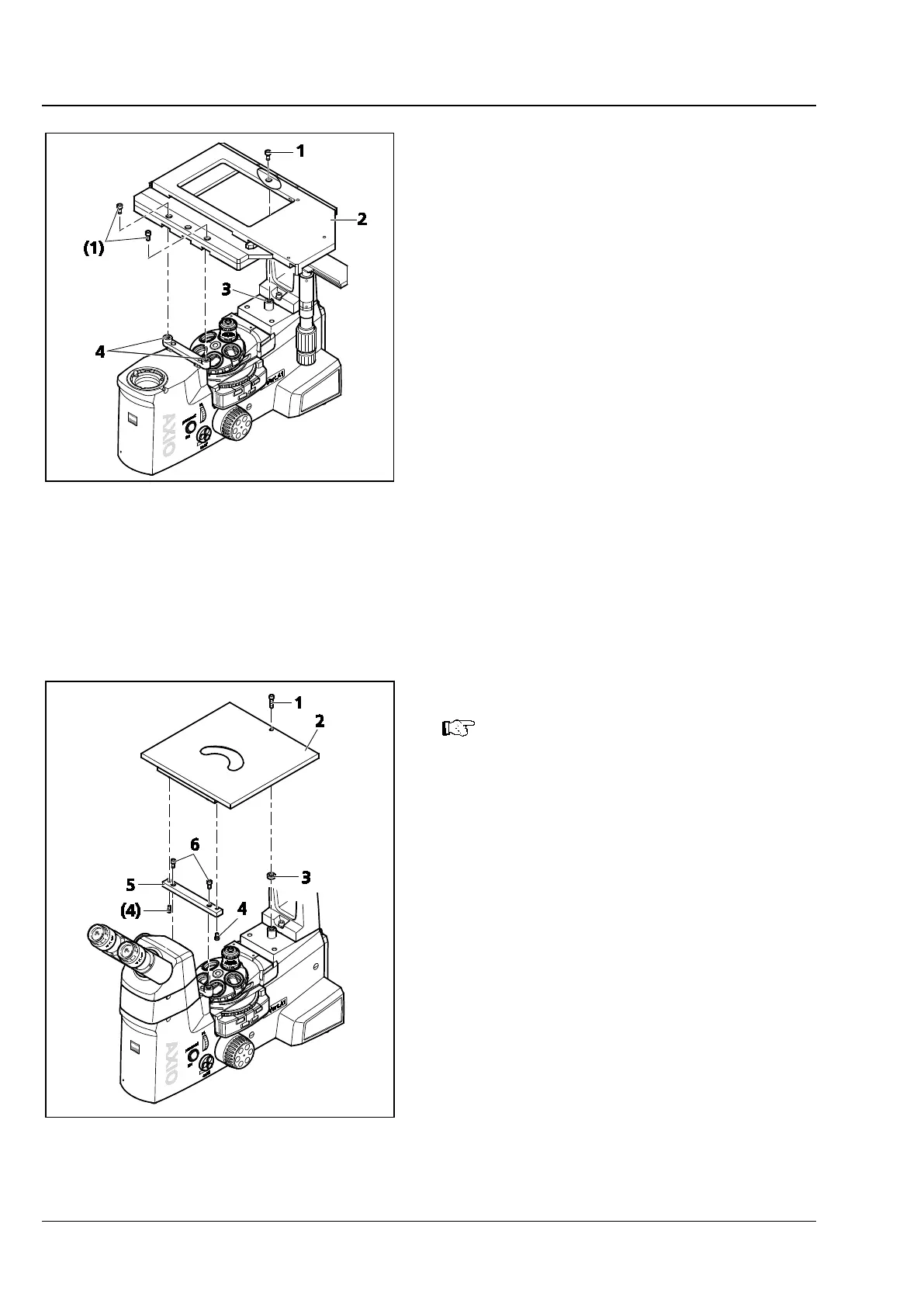
3.1.6 Attaching Microscope Stages
3.1.6.1 Mounting the Mechanical Stage
There are three locating points with retaining
screw holes which allow the mechanical stage
(mechanical stage 130x85 R/L or 40x40 for
reflected light) to be mounted directly onto the
stand.
After the installation, a mounting frame of your
choice can be attached to mechanical stage
130x85 R/L, while mechanical stage 40x40 for
reflected light may be equipped with a stage
insert. See also Section 2.6.2.
The mechanical stages can be mounted both with
the coaxial drive to the right and to the left. For
this purpose, each mechanical stage features three
countersunk holes both at the front and at the
back.
Put the mechanical stage (Fig. 3-6/2) onto the
three locating points (Fig. 3-6/4) of the stand
and fasten it with three Allen screws (Fig. 3-6/1)
(two at the front, one at the back).
3.1.6.2 Mounting the Specimen Stage
If the fixed specimen stage is included
in the order placed for the stand, the
specimen stage will be supplied
factory-mounted.
Fasten the bar (Fig. 3-7/5) of the specimen
stage to the two locating points at the front of
the stage, using two Allen screws (SW 4)
(Fig. 3-7/6).
Plug the spacer (Fig. 3-7/3) with the fitting
cylinder into the locating point in the rear
section of the stand.
Put the specimen stage (Fig. 3-7/2) on the stand
and fasten it with two short Allen screws
(SW 4) (Fig. 3-7/5) at the front from below and
with a long screw (Fig. 3-7/1) from the top.
The specimen stage may be fitted with the object
guide before or after mounting. See also Section
2.6.2. The object guide can be attached to the
right-hand side or to the left-hand side.
Fig. 3-6 Mounting the Mechanical Stage
(Shown without Tube)
Fig. 3-7 Mounting the Specimen Stage

Table of Contents

Related product manuals