EasyManua.ls Logo

Zeiss Axio Vert.A1 - Fig. 3-8 Underside of the Scanning Stage; Fig. 3-9 Upper Side of the Scanning Stage

Zeiss Axio Vert.A1
106 pages
Print Icon
To Next Page IconTo Next Page
To Next Page IconTo Next Page
To Previous Page IconTo Previous Page
To Previous Page IconTo Previous Page
Loading...
PUTTING THE INSTRUMENT INTO OPERATION
Axio Vert.A1
Mounting Standard Components Carl Zeiss
05/2012 431030-7044-001 45
3.1.6.3 Mounting the Scanning Stage
To mount scanning stage 130x85 motP; CAN, follow the same procedure as for the mechanical stage.
In addition, heed the suggestions below when mounting the scanning stage.
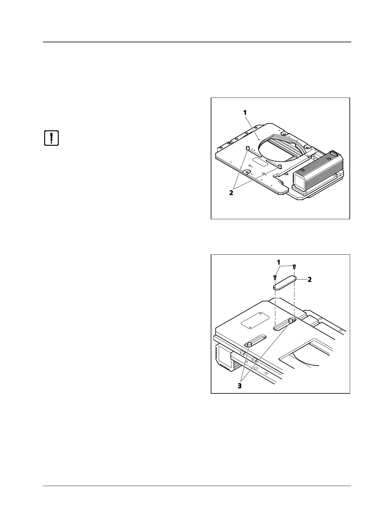
After mounting the stage on the stand, screw
out the transport lock pin (Fig. 3-8/1) located on
the underside of the stage.
Be sure to screw the transport lock
pin in again whenever you transport
the stage.
The traversing ranges of the scanning stage in X
and Y directions may be restricted in the following
way if necessary:
X direction
In order to change the right or left stop for the
X direction, loosen the relevant stop screw
(Fig. 3-8/2) on the underside of the stage, move
the screw into the desired position and
retighten it.
Y direction
In order to change the front or rear stop for the
Y direction, first turn out the screws (Fig. 3-9/1)
of the covers on the upper side of the stage and
remove the covers (Fig. 3-9/2).
Then loosen the stop screws (Fig. 3-9/3), move
the screws in the desired position and retighten
them.
Next, screw the covers back on again.
Fig. 3-8 Underside of the Scanning Stage
Fig. 3-9 Upper Side of the Scanning Stage

Table of Contents

Related product manuals