EasyManua.ls Logo

ABB IRB 1400 - Amount of Space Required

ABB IRB 1400
198 pages
Print Icon
To Next Page IconTo Next Page
To Next Page IconTo Next Page
To Previous Page IconTo Previous Page
To Previous Page IconTo Previous Page
Loading...
2 Installation and commissioning
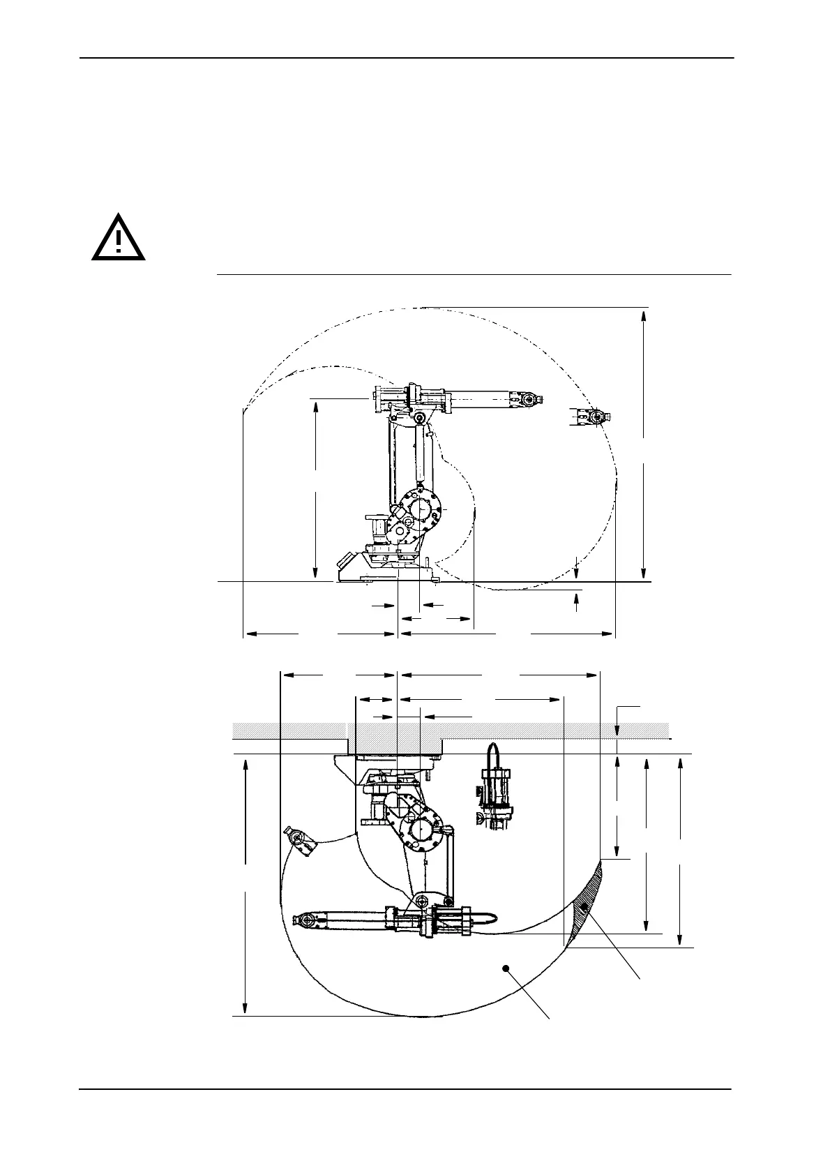
2.1.6 Amount of Space required
40 3HAC021111-001 Revision: B
2.1.6 Amount of Space required
The amount of working space required to operate the manipulator is illustrated in the figures
below. The working range for axis 1 is +/- 170°.
NB! There are no software or mechanical limits for the working space under the base of
the manipulator.
Manipulator
The Amount of working Space required for the Manipulator.
1051
150
254
1282
733
1645
770
1127
1221
150
Axis 1 ± 170
o
Axis 1 +145
o
-135
o
1195
1008 1444
150
511
1793
50

Table of Contents

Other manuals for ABB IRB 1400

Related product manuals