EasyManua.ls Logo

AGFA SelectSet Avantra Series - The Pause Screen

AGFA SelectSet Avantra Series
174 pages
Print Icon
To Next Page IconTo Next Page
To Next Page IconTo Next Page
To Previous Page IconTo Previous Page
To Previous Page IconTo Previous Page
Loading...
2–22 SelectSet Avantra Series Control Panel and Operating Guide
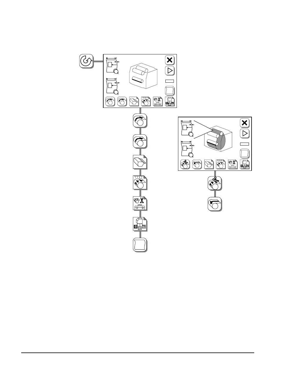
The Pause Screen
The Load Supply A and Load Supply B icons appear on the Pause
screen if no media is loaded. Once media is loaded, the Load Supply
icons are replaced by the Feed and Cut and Unload icons.
F
#1
PL
#2
A
B
#
Load Supply A
#
F
#1
PL
#2
A
B
A B
#
B
A
Load Supply B
Cassette Setup
Feed Amounts
Utilities
Configuration
Display Job History
Feed and Cut
Unload

Table of Contents

Related product manuals