EasyManua.ls Logo

ashtech DG16 - Page 65

ashtech DG16
390 pages
Print Icon
To Next Page IconTo Next Page
To Next Page IconTo Next Page
To Previous Page IconTo Previous Page
To Previous Page IconTo Previous Page
Loading...
Basic Operation 45
Basic Operation
signal. The trigger signal can be set to the rising or falling edge using the
$PASHS,PHE command.
The precision of the measured time is 50 nanoseconds (ns) in differential mode
and 200 ns in stand-alone mode with SA off. This is based on GPS time, which is
output as day number, hours, minutes, seconds, and fractional seconds to 6 digits
past the decimal mark.
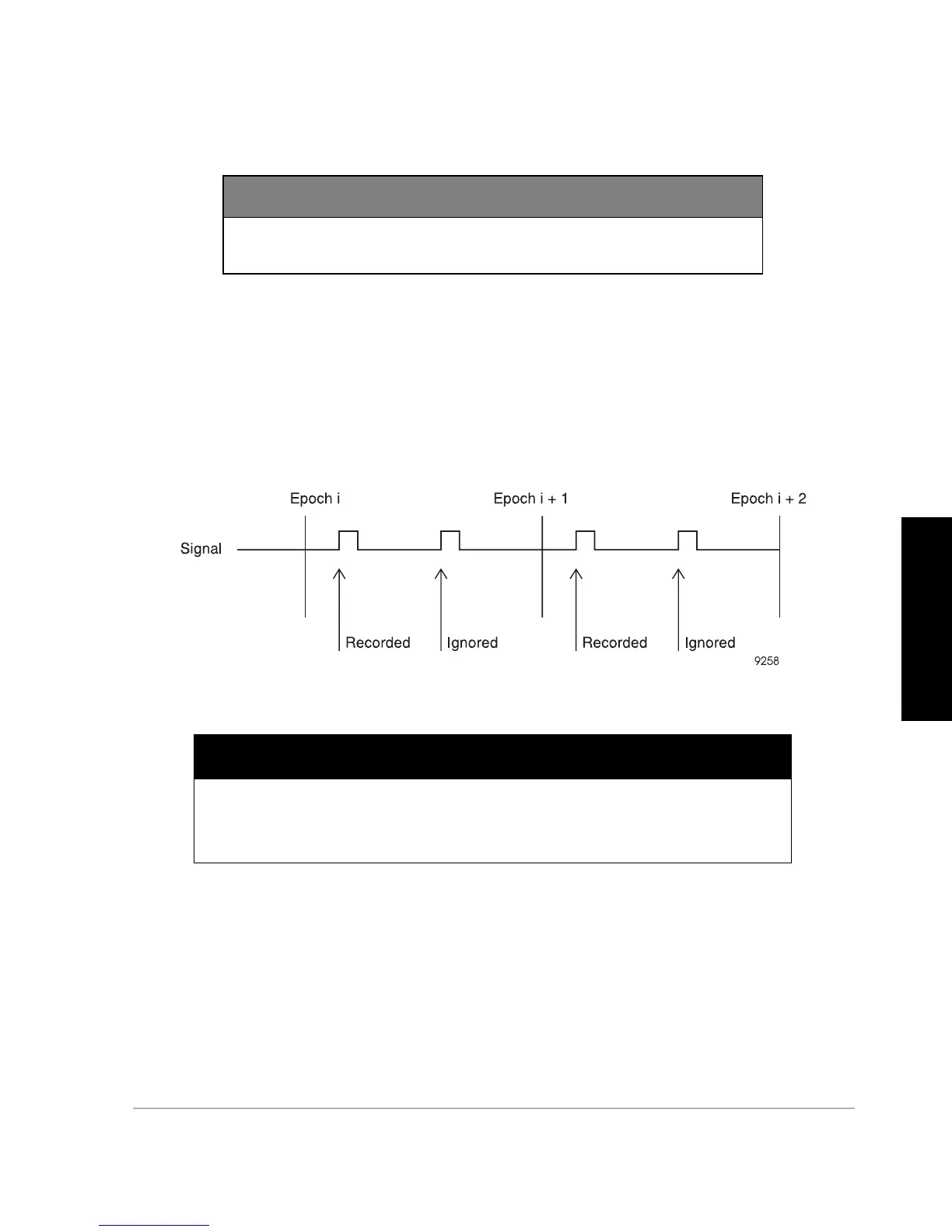
The photogrammetry time measures the event time relative to the receiver's GPS
time. It measures only the first event during the period between 2 GPS epochs
(Figure 3.1).
Because the 1 PPS signal is used to measure the photogrammetry events, the
period of the 1 PPS signal must be set to a value equal to or less than the period
of the event pulse.
The trigger pulse may be TTL-compatible or open collector. Minimum pulse
duration is 100 nanoseconds when the signal is not terminated at the receiver
input. The impedance is approximately 5 KW.
Use a coaxial cable with BNC connectors to connect the camera trigger output to
the photogrammetry input connector of the DG16.
DEFAULT SETTINGS
TTT synchronization message outputsynchronize with the rising edge
of the trigger signal
Figure 3.1. GPS Epochs
CAUTION
The DG16 measures only one event time per data collection period. If more than
one event time is measured within a data collection period, the receiver measures
only the first one. The event time record rate is dependent upon the setting of the
RCI parameter.

Table of Contents