EasyManua.ls Logo

Aspen Avionics EFD1000 E5 - Figure 9-19 A: Cessna Navomatic 300;400;800 IFCS to ACU Interface

Aspen Avionics EFD1000 E5
226 pages
Print Icon
To Next Page IconTo Next Page
To Next Page IconTo Next Page
To Previous Page IconTo Previous Page
To Previous Page IconTo Previous Page
Loading...
EFD1000 E5 Dual Electronic Flight Instrument (EFI) Install Manual
DOCUMENT # 900-00041-001 PAGE 122-226 REVISION D
© Copyright 2019 Aspen Avionics Inc.
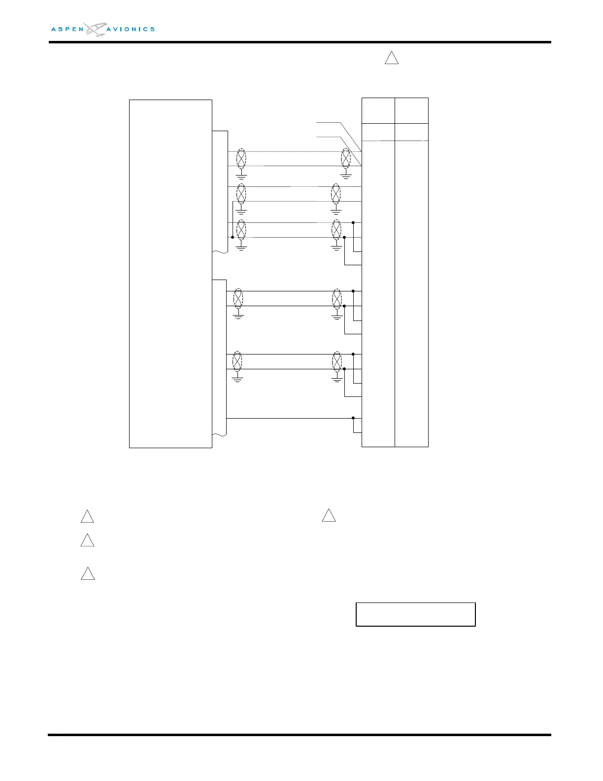
Figure 9-19A: Cessna Navomatic 300/400/800 IFCS to ACU Interface
J3/P18
J1/P16
Autopilot can only be connected to ACU #1 in a dual
ACU configuration.
35
16
37
18
P2
+ RIGHT
+ LEFT
+UP
+DN
_
_
_
f
d
U
T
_
_
a
1
2
CRS Datum, LT/RT, UP/DN, and ILS Energize are
paralleled to both the Nav1 and Nav2 inputs on the
S530A. This is so that the EFD1000 will drive the
autopilot no matter the position of the Nav1/2
selector switch.
Z
N
P
_
_
5
Y
S
/ILS ENERGIZE
Cessna 300/400/800
IFCS
Mode
Controller
S530A
3
4
Refer to autopilot manufacturers’ documentation for
autopilot-side integration information (including
autopilot STC compliance data) and for autopilot and
flight director checkout procedures. This drawing, as
it pertains to the non-Aspen equipment, is for
reference only.
m
23
22
10
E
F
_
_
P3
HDG DATUM
EXT LO
HDG-CRS EXT
C
ACU
E
_
This note is not used
AP
Computer
CA530FD
11
HDG/CRS COM
b
3
V
CRS DATUM
k
_
_
_
_
_
_
_
_
2
Set ACU HSI TYPE = 1
Set ACU DATUM = REVERSED
Configuration Matrix
(see Section 10)
Other A/P
equipment
(parallel if other
wires exist)

Table of Contents

Related product manuals