EasyManua.ls Logo

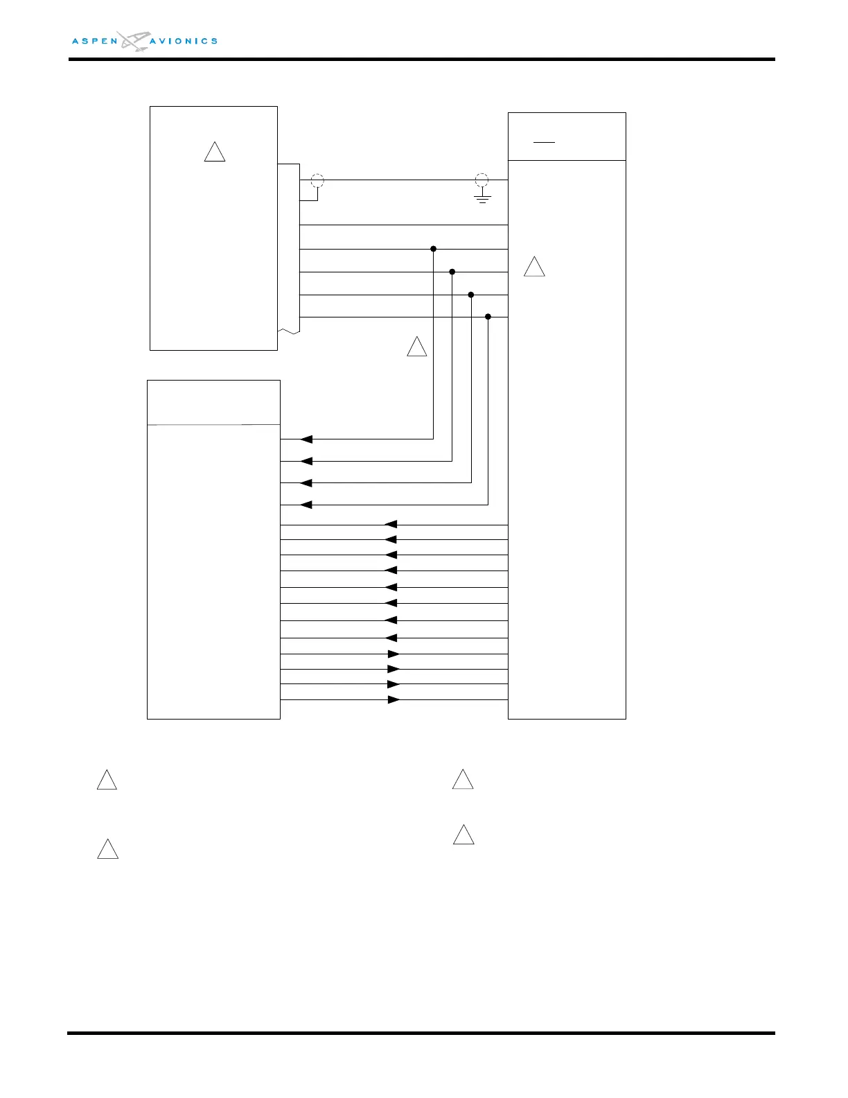
Aspen Avionics EFD1000 E5 - Figure 9-25: Back-Up NAV Indicator (OBS Resolver)

Aspen Avionics EFD1000 E5
226 pages
Print Icon
To Next Page IconTo Next Page
To Next Page IconTo Next Page
To Previous Page IconTo Previous Page
To Previous Page IconTo Previous Page
Loading...
EFD1000 E5 Dual Electronic Flight Instrument (EFI) Install Manual
DOCUMENT # 900-00041-001 PAGE 128-226 REVISION D
© Copyright 2019 Aspen Avionics Inc.
Figure 9-25: Back-up NAV Indicator (OBS Resolver)
ACU
1
NAV Composite
20
2
32
13
31
12
Composite GND
/ILS Engage
GS +UP
GS +DN
GS -FLG
GS +FLG
P2
NAV Receiver
with internal
NAV Converter
KI-525A
KI-202
KI-206
KI-207
KPI-552
GI-102/A
GI-106/A
KX-165
KX-165A
KNS-80/81
SL-30
1
Complete ACU to NAV hook-up is shown on
Figure 9-15.
2
3
4
NAV Indicator
NAV FLG+
NAV FLG-
CDI +RIGHT
CDI +LEFT
+ TO
+ FROM
OBS RES A/H
OBS RES C
OBS RES G
OBS RES F
OBS RES E
OBS RES D
3
2
Parallel all lines shown maintaining shielding as
required. Splice connections as close to NAV
receiver as possible. Do not splice from back of
NAV indicator.
Some Nav Receivers have multiple GS outputs.
Separate outputs should be used in lieu of
paralleling the 4 wires when available.
1
Refer to manufacturers’ documentation to verify
the integration data and for information
regarding checkout procedures. This drawing,
as it pertains to the non-Aspen equipment, is
for reference only.

Table of Contents

Related product manuals