EasyManua.ls Logo

Comtech EF Data DT-4500 Series - Page 188

Comtech EF Data DT-4500 Series
206 pages
Print Icon
To Next Page IconTo Next Page
To Next Page IconTo Next Page
To Previous Page IconTo Previous Page
To Previous Page IconTo Previous Page
Loading...
DT-4500 Series C- and Ku-Band Down Converters MN/DT4500.IOM
Appendix A Revision 2
A–8
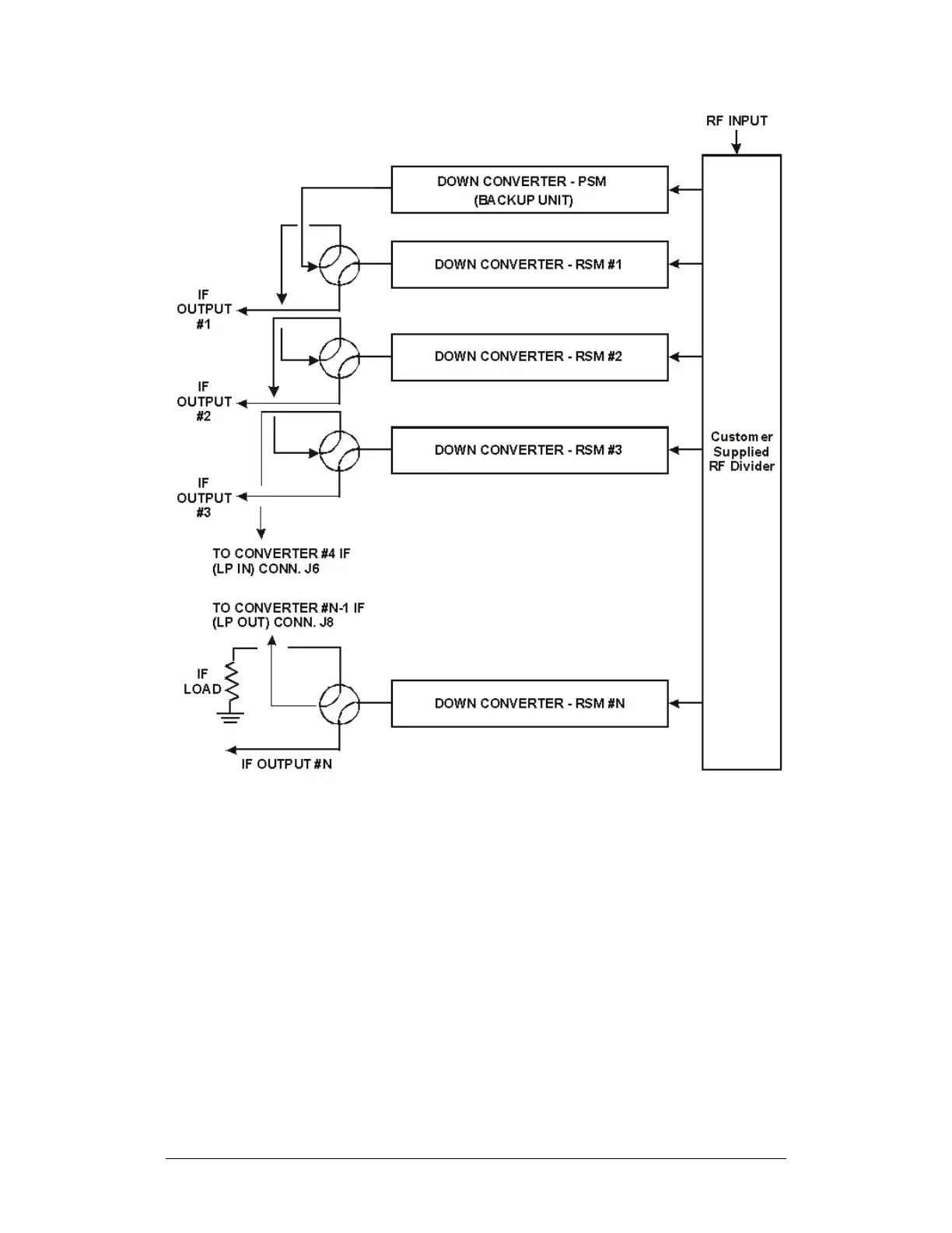
Figure A-8. Dual Source 1:N Redundant Configuration Diagram (with PSM
and RSM)

Table of Contents

Related product manuals