EasyManua.ls Logo

Dodge Stealth 1994 - Page 60

Dodge Stealth 1994
434 pages
Print Icon
To Next Page IconTo Next Page
To Next Page IconTo Next Page
To Previous Page IconTo Previous Page
To Previous Page IconTo Previous Page
Loading...
8-58
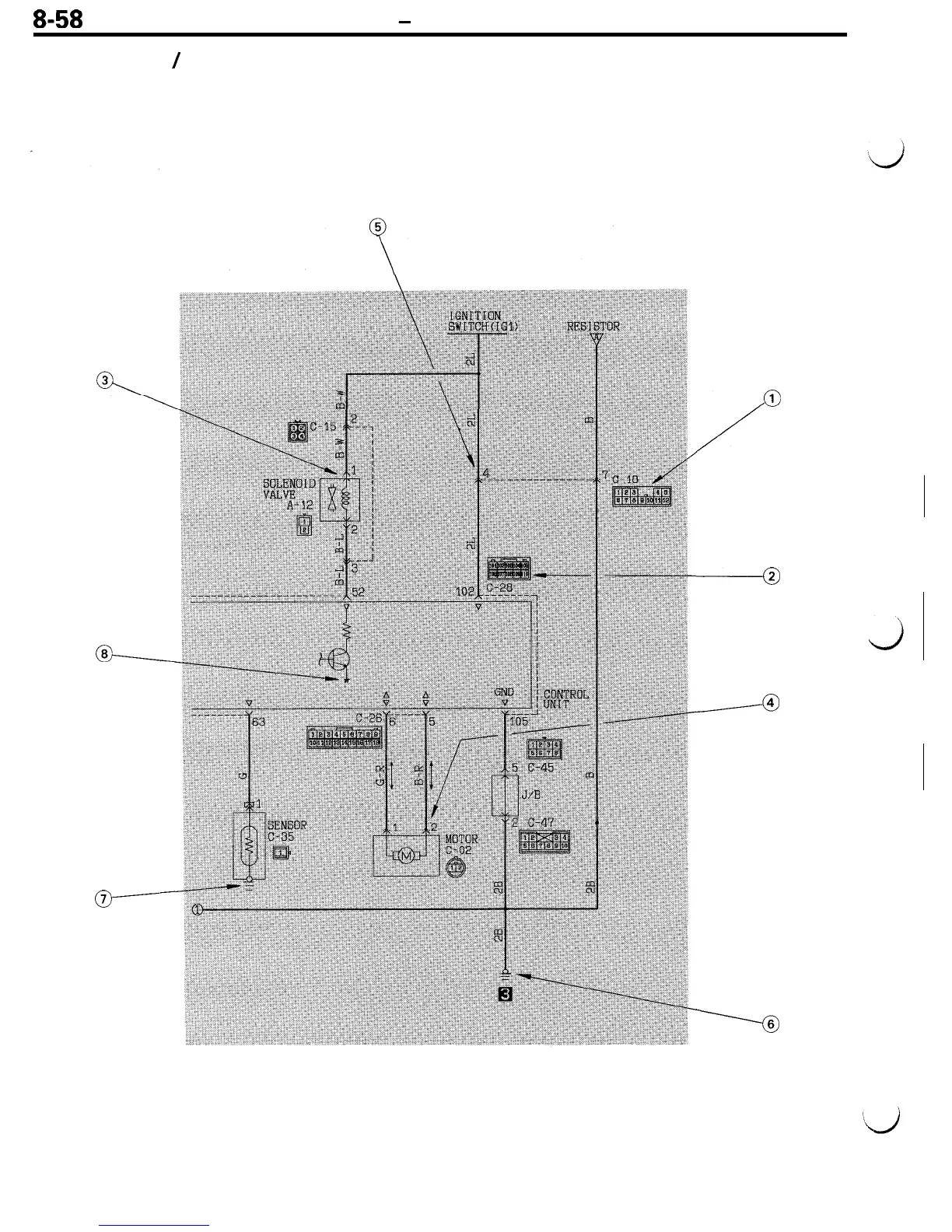
CIRCUIT DIAGRAMS
-
How to Read Circuit Diaarams
CONNECTOR
/
GROUNDING INDICATIONS
L
@-------
1
/
------@
-----@
------a

Table of Contents

Related product manuals