EasyManua.ls Logo

Evector SportStar RTC - Page 128

Default Icon
354 pages
Print Icon
To Next Page IconTo Next Page
To Next Page IconTo Next Page
To Previous Page IconTo Previous Page
To Previous Page IconTo Previous Page
Loading...
ERTC022-10-AS
MAINTENANCE MANUAL
24-30
Page 24-34
2019-03-22
Effectivity: All
Edition 2 | Rev. 1
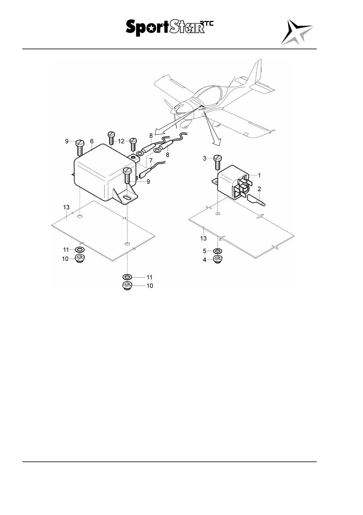
Legend to Fig. 24-15
1 Relay 12 V / 30 A 8 Wire with cable eye
2 Wire with connector 9 Screw M5
3 Screw M4 10 Nut M5
4 Washer 4,3 11 Washer 5,3
5 Nut M4 12 Screw
6 Relay 12 V / 75 A For information
7 Wire with connector 13 Bracket
Fig. 24-15 Relay – removal / installation (typical)

Table of Contents

Related product manuals