EasyManua.ls Logo

Icom IC-E80D - Program Scan Link Functionality; Program Scan Link Function (P-LINK)

Icom IC-E80D
188 pages
Print Icon
To Next Page IconTo Next Page
To Next Page IconTo Next Page
To Previous Page IconTo Previous Page
To Previous Page IconTo Previous Page
Loading...
115
12
MENU SCREEN OPERATION
1
2
3
4
5
6
7
8
9
10
11
12
13
14
15
16
17
18
19
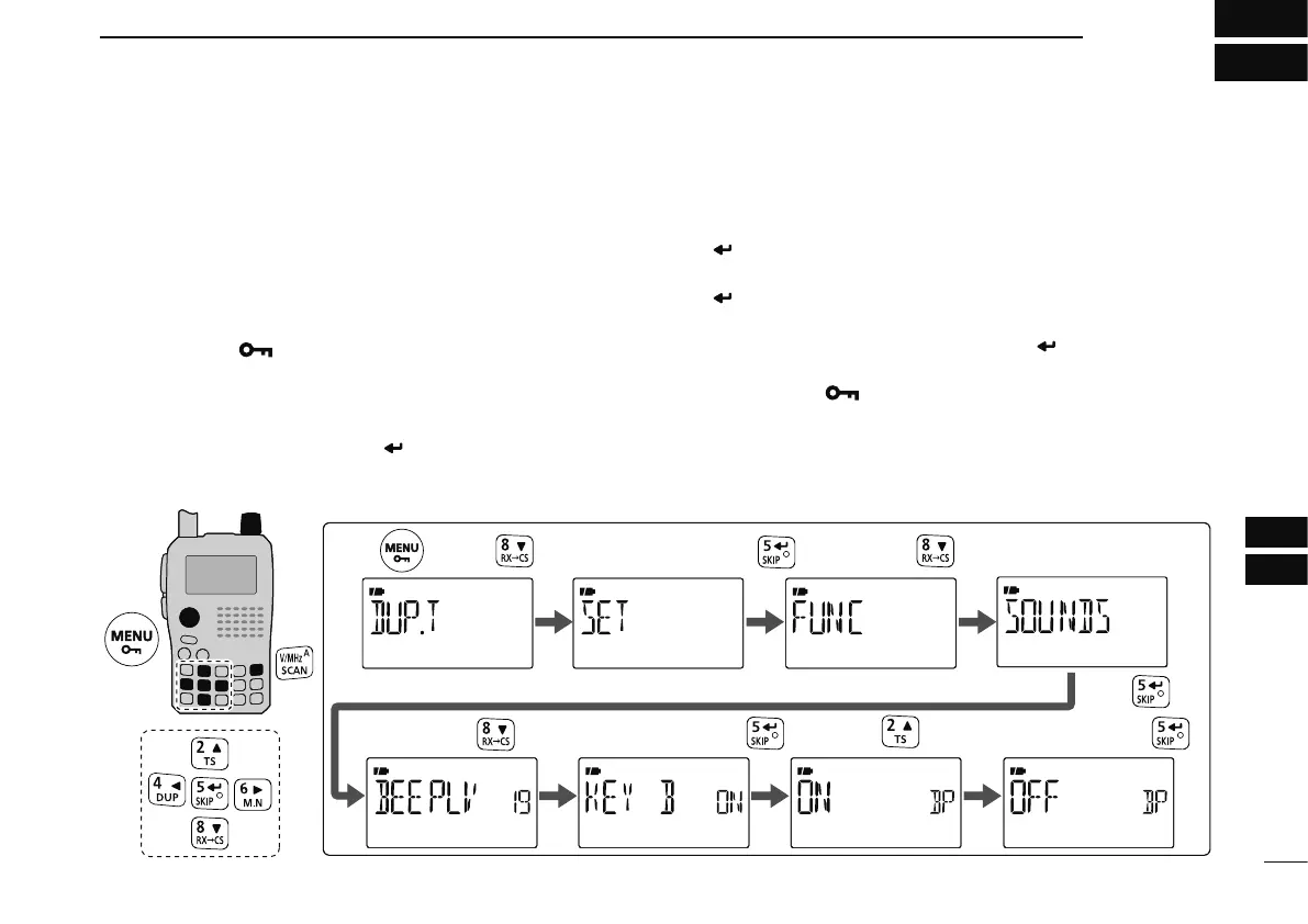
N General
MENU screen is used for programming infrequently changed
values or conditions of functions.
D Entering MENU screen and operation
[Example]: Set “KEY B (Key-touch beep)” to OFF.
q Push
[MENU ] to enter MENU screen.
DUP.T,”SCAN,”SET,”DV SET,” CALL-S,” RX CAL,” MES-
SAG,”RPT-L or “GPS appears.
w Push [](2) or [](8) (or rotate [DIAL]) to select the de-
sired menu group, then push [
](5) (or [](6)).
e When “SET is selected, push [](2) or [](8) (or rotate
[DIAL]) to select the desired function group, then push
[
](5) (or [](6)).
r Push [](2) or [](8) to select the desired item, then push
[
](5) (or [](6)).
t Push [](2) or [](8) (or rotate [DIAL]) to select the de-
sired value or condition, then push [
](5) (or [](4)) to
return to the setting item selection mode.
y Push
[MENU ] (or [V/MHz]) to return to the frequency
screen, repeat steps w to r to set another items.
[DIAL]
Enter menu screen
Push to select “SET.
Push .
Push .
[EXAMPLE]:
Set “KEY B (Key-touch beep)” to OFF.
Push .
Push .Push to select “KEY B.
Push to select “OFF, then push
.
Push to select “SOUNDS.

Table of Contents

Related product manuals