EasyManua.ls Logo

IEMCA VIP 80 - Axial Displacement Device

Default Icon
152 pages
Print Icon
To Next Page IconTo Next Page
To Next Page IconTo Next Page
To Previous Page IconTo Previous Page
To Previous Page IconTo Previous Page
Loading...
TECHNICAL SPECIFICATIONS
2
302.028
- 13 -
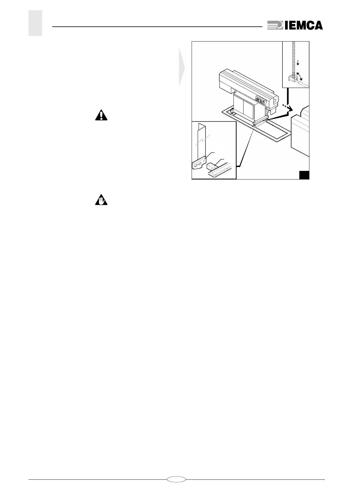
2.7. AXIAL DISPLACEMENT DEVICE -
DESCRIPTION
(FIG.5)
t allows the feeder to be moved away from the lathe to
allow maintenance, cleaning or any other servicing of
the lathe.
Release and rotate lever
A
for conveying.
DANGER - WARNING: Make sure that safety hook B
has passed block C, in order to prevent the bar feeder
from sliding freely over the guides.
To move the bar feeder back to working position, rele-
ase safety hook
B
and move lever
A
to its initial posi-
tion after conveying.
CAUTION: In order to guarantee a good working, keep
axial displacement bars cleaned and lubricated.
5
28_089_0
A
C
B

Table of Contents

Related product manuals