EasyManua.ls Logo

IEMCA VIP 80 - Annexes Enclosed; Manufacturer and Machine Identification; Technical Assistance

Default Icon
152 pages
Print Icon
To Next Page IconTo Next Page
To Next Page IconTo Next Page
To Previous Page IconTo Previous Page
To Previous Page IconTo Previous Page
Loading...
GENERAL INFORMATION
1
- 5 -
302.028
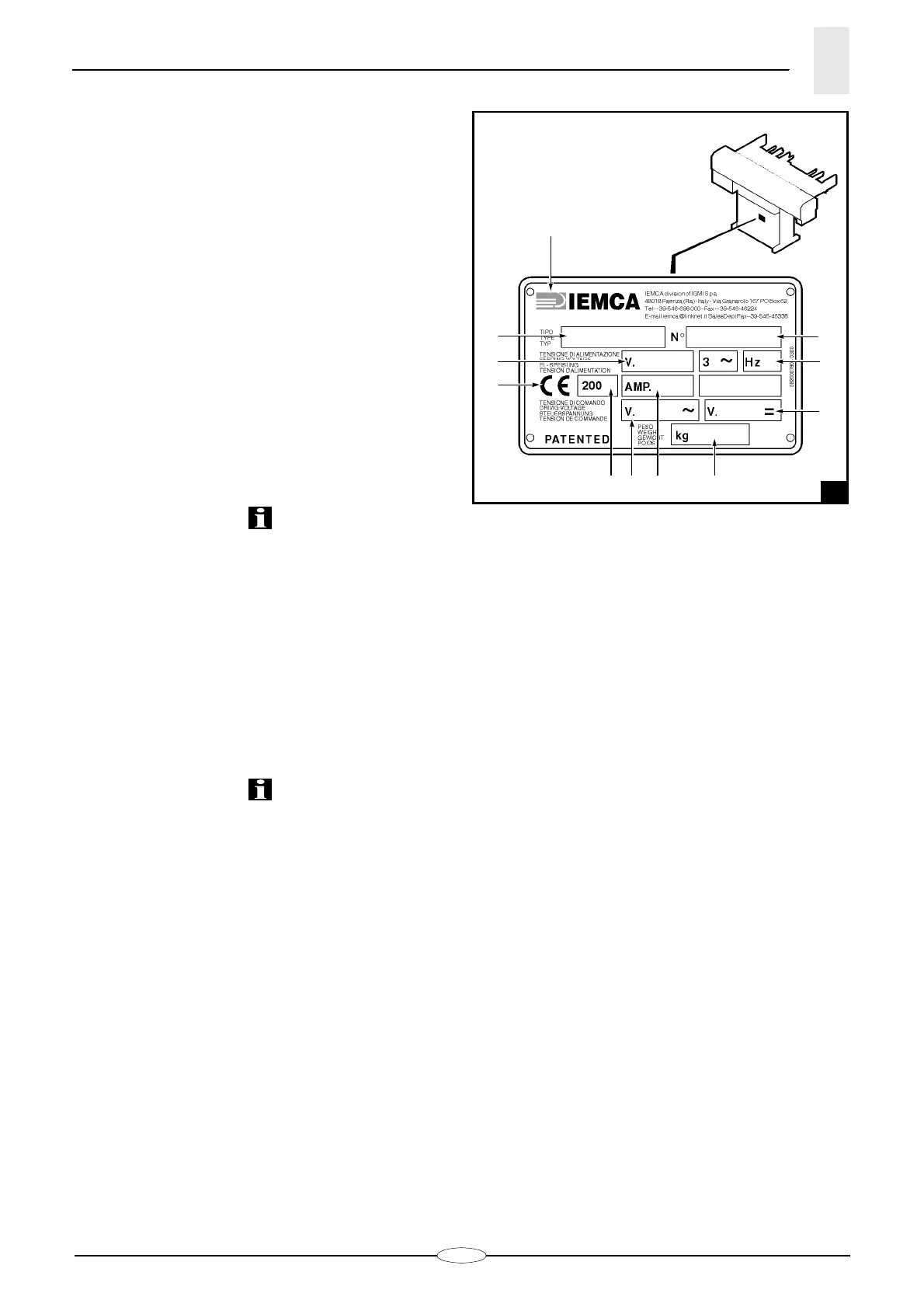
1.2. MANUFACTURER AND MACHINE
IDENTIFICATION
(fig. 1)
A-
Manufacturer’s identification
B-
CE conformity marking
C-
Year of manufacture
D-
Machine model
E-
Serial number
F-
Feeding voltage
G-
Mains frequency
H-
Amperage
L-
Alternate driving voltage
M-
Direct driving voltage
N-
Weight.
Always provide the Manufacturer with the above
mentioned specifications in order to obtain information
or whenever ordering spare parts, etc.
1.3. TECHNICAL ASSISTANCE
Whenever necessary, please apply to one of the
Technical Assistance Departments listed in the annex
enclosed herein.
As far as technical servicing relevant to the bar feeder is
concerned, always specify the technical data printed on
the machine nameplate.
1.4. ANNEXES ENCLOSED
Technical assistance departments list.
Electric diagram.
Pneumatic diagram.
Push-button panel operation guide.
Instructions for lathe connection.
1
M
G
E
A
LC
28.001 Ec.0
D
F
B
H N

Table of Contents

Related product manuals