EasyManua.ls Logo

KCP 113 - Page 102

Default Icon
107 pages
Print Icon
To Next Page IconTo Next Page
To Next Page IconTo Next Page
To Previous Page IconTo Previous Page
To Previous Page IconTo Previous Page
Loading...
KCP Heavy Industries Co., Ltd. Maintenance
7-32
Assembly Paste” or equivalent assembly grease.
Assemble s-valve shaft and swing lever centre to match.
Note ___________________________________________________________________
Use only new nuts for the clamping bolts on swing lever.
_______________________________________________________________________
Insert the two clamping bolts in the swing lever and fit new nuts. Tighten the
clamping bolts to 210 Nm.
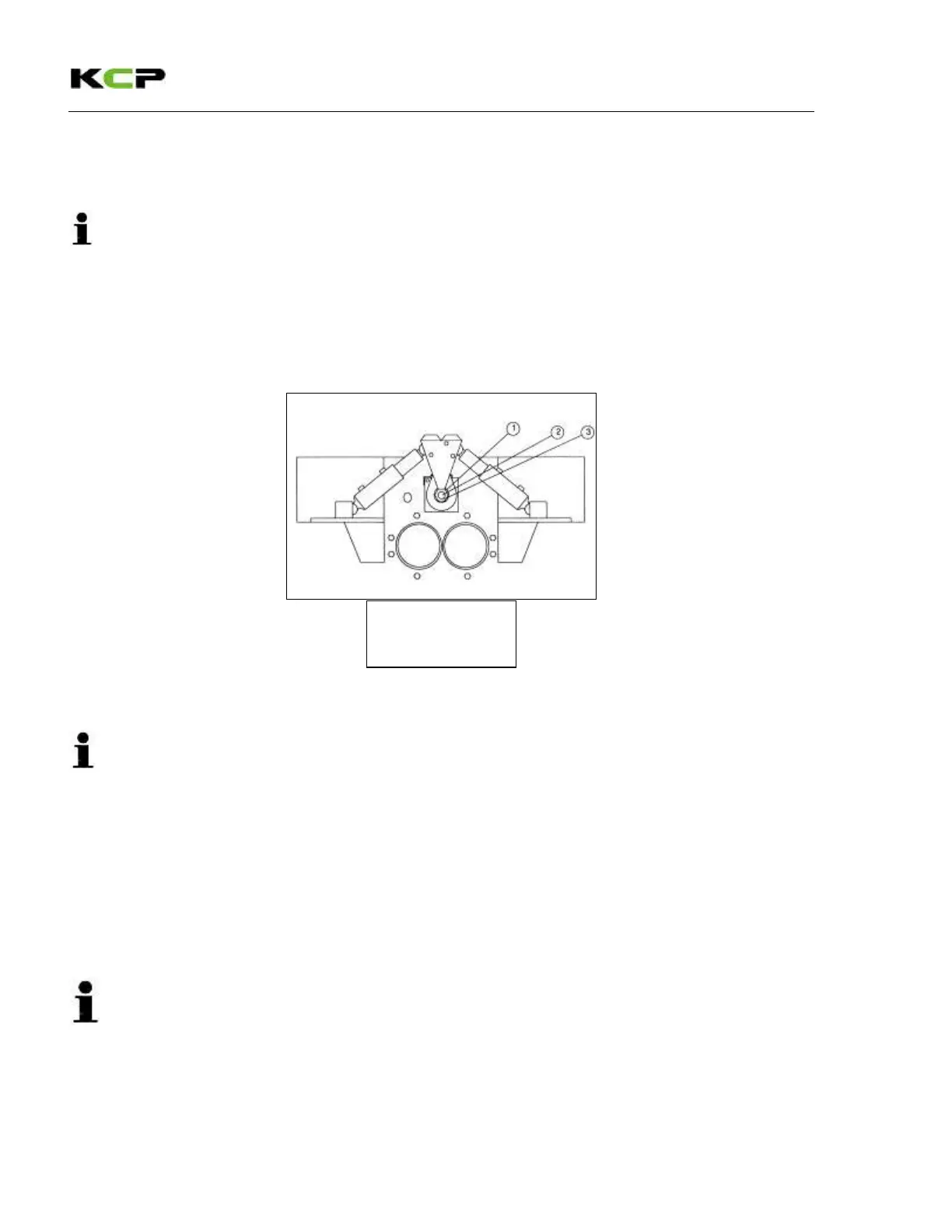
Fit the connector ring (1) on the s tube shaft (2) and tighten the hexagon nuts (3)
on the S tube shaft.
Note ___________________________________________________________________
The gap (clearance between wear plate and wear ring) must be set to ensure that the S-
tube switches correctly.
_______________________________________________________________________
Loosen the hexagon nuts on the s tube shaft by about ¾ of a turn. This
automatically sets the gap.
Further assembly is carried out in the reverse sequence to disassembly.
Note ___________________________________________________________________
The hydraulic lines must be bled after reassembly. This is done by starting up the pump
slowly and switching the S-tube over slowly a few times.
_______________________________________________________________________
1 Connector ring
2 S tube shaft
3 Hexagon bolt

Table of Contents