EasyManua.ls Logo

LELY JUNO 150 - Page 67

LELY JUNO 150
126 pages
Print Icon
To Next Page IconTo Next Page
To Next Page IconTo Next Page
To Previous Page IconTo Previous Page
To Previous Page IconTo Previous Page
Loading...
Installation 5-11
D-I012.1109EN
innovators in agriculture
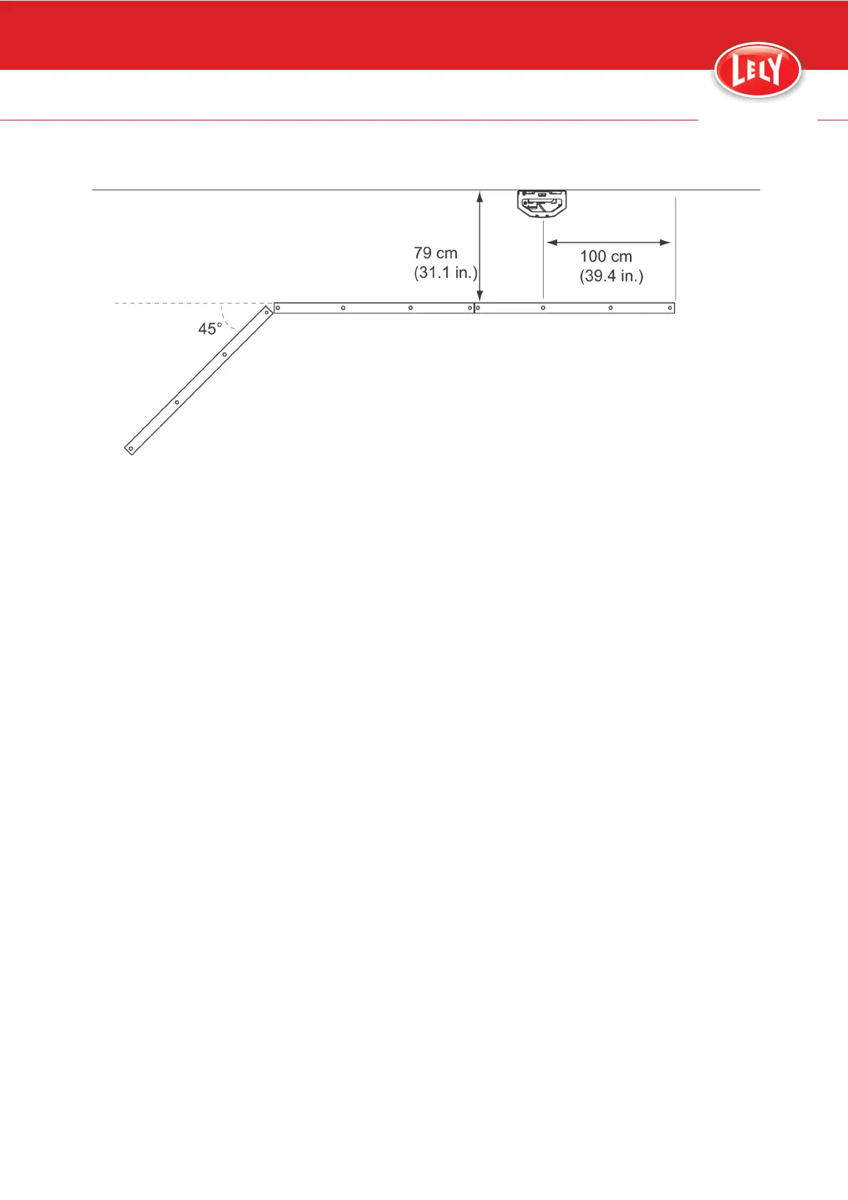
Figure 31. Install the inductive metal guiding strips

Table of Contents

Other manuals for LELY JUNO 150

Related product manuals