EasyManua.ls Logo

NMC-WOLLARD 140 - Page 330

NMC-WOLLARD 140
585 pages
Print Icon
To Next Page IconTo Next Page
To Next Page IconTo Next Page
To Previous Page IconTo Previous Page
To Previous Page IconTo Previous Page
Loading...
NMC-WOLLARD 2021Truax Blvd., Eau Claire, WI 54703, Phone (715) 835-3151, Fax (715) 835-6625
M140 Tow Tractor Manual No. 46054
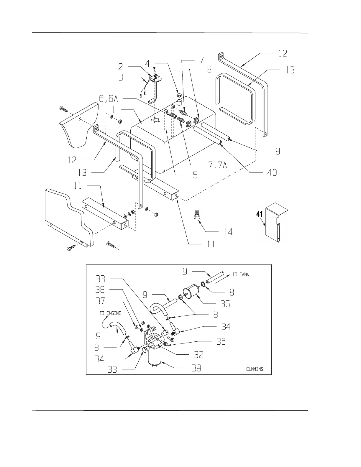
PAGE 4-130
CHAPTER 4 REPAIR PARTS
FIGURE 58.
FUEL SYSTEM CUMMINS & PERKINS 1104D
4 ILLUSTRATED PARTS LIST
JUNE 15, 2015

Table of Contents

Related product manuals