EasyManua.ls Logo

Panterra Fusion - Vacuum Chamber-Break down

Default Icon
188 pages
Print Icon
To Next Page IconTo Next Page
To Next Page IconTo Next Page
To Previous Page IconTo Previous Page
To Previous Page IconTo Previous Page
Loading...
5. Fuel System
5-7
58
NIKOTA USA: PANTERRA SCOOTER SERVICE MANUAL
CHAPTER 5: FUEL SYSTEM
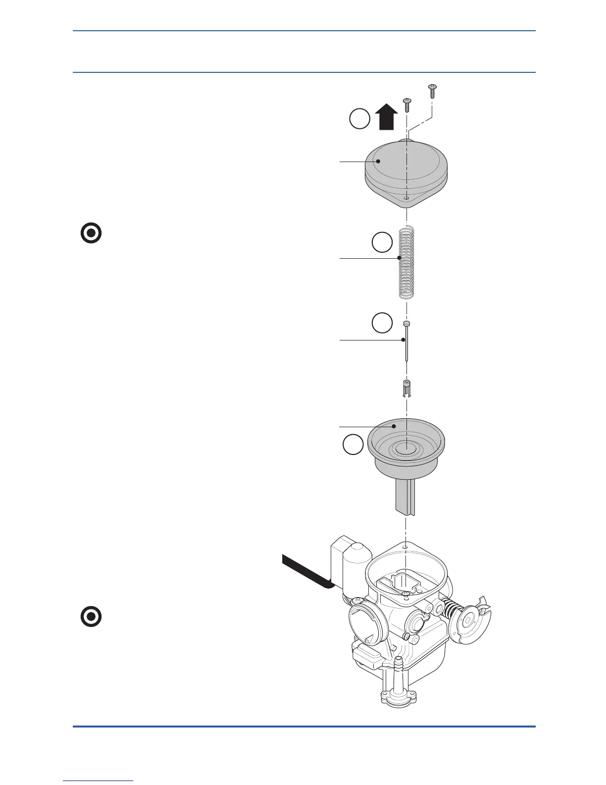
Vacuum Chamber-Break down
1. Remove two screws and take off
cover.
2. Remove spring, diaphragm piston.
3. Remove fuel pin and slide.
Take special care not to
damage diaphragm. Replace
if damaged.
Checking
1. Check pin for wear and replace if
necessary.
Assembling
1. Install piston or plate to body of
carburetor.
2. Push the button of the piston to
vacuum chamber side and keep open
completely. Install spring and cover.
3. Install screw.
Be sure to hold slide and
piston in up position when
installing cover and tighten
screw.
COVER
SPRING
FUEL PIN
DIAPHRAGM
PISTON
1
2
3
2

Table of Contents

Related product manuals