EasyManua.ls Logo

YASKAWA iQpump1000 - Page 55

YASKAWA iQpump1000
508 pages
Print Icon
To Next Page IconTo Next Page
To Next Page IconTo Next Page
To Previous Page IconTo Previous Page
To Previous Page IconTo Previous Page
Loading...
n
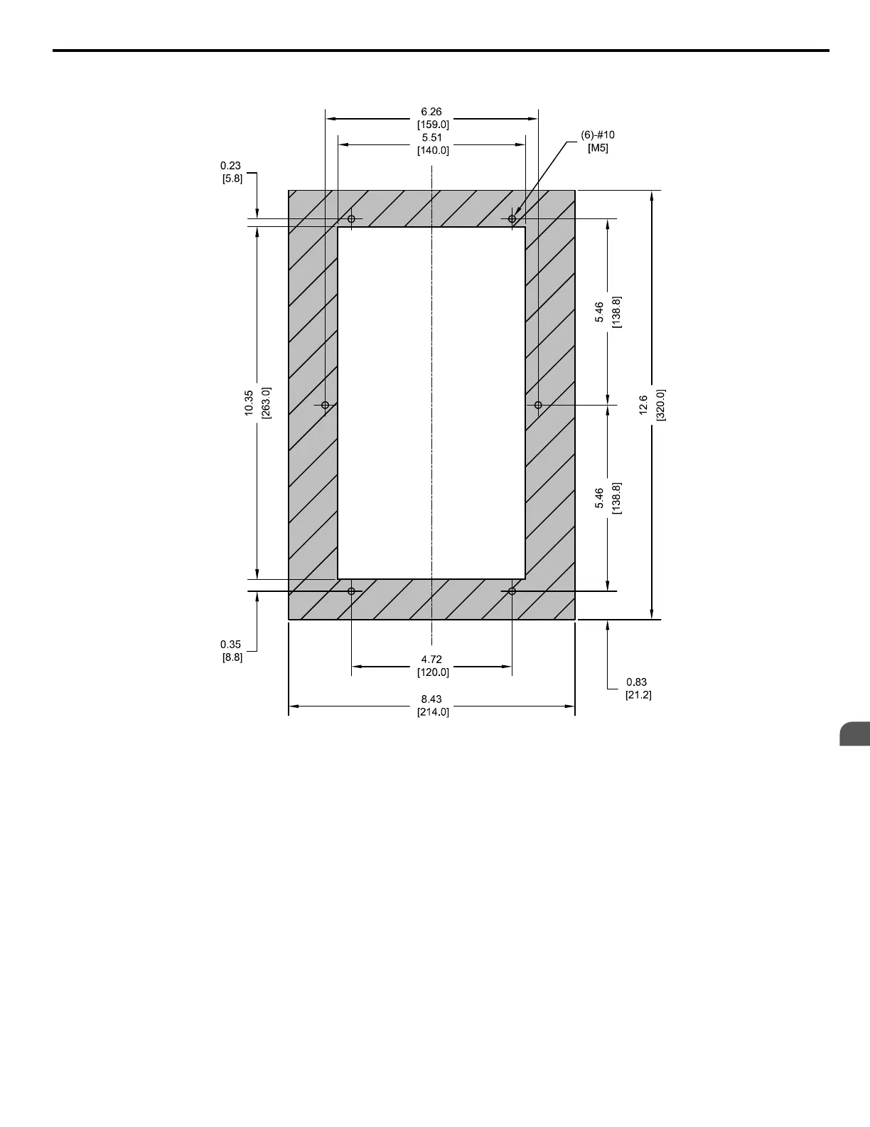
Flange Type Panel Cutout Dimensions for External Heatsink Mounting
Unit: in. [mm]
CUTOUT
NOTES:
1. CUTOUT TOLERANCES:
+/- 0.02 in. [0.5 mm]
2. EXPOSED HEATSINK
RECOMMENDED CLEARANCE
D=1.97 in. [50 mm] MINUS PANEL THICKNESS
Figure 2.16 Models 2A0004 to 2A0012, 4A0002 to 4A0005, and 5A0003 and 5A0004
2.2 Flange Type Enclosure (NEMA 12 Backside) Dimensions & Heat Loss
YASKAWA TOEP YAIP1W 01F YASKAWA AC Drive - iQpump1000 User Manual
55
2
Mechanical Installation

Table of Contents

Other manuals for YASKAWA iQpump1000

Related product manuals