EasyManua.ls Logo

YASKAWA iQpump1000 - Page 58

YASKAWA iQpump1000
508 pages
Print Icon
To Next Page IconTo Next Page
To Next Page IconTo Next Page
To Previous Page IconTo Previous Page
To Previous Page IconTo Previous Page
Loading...
n
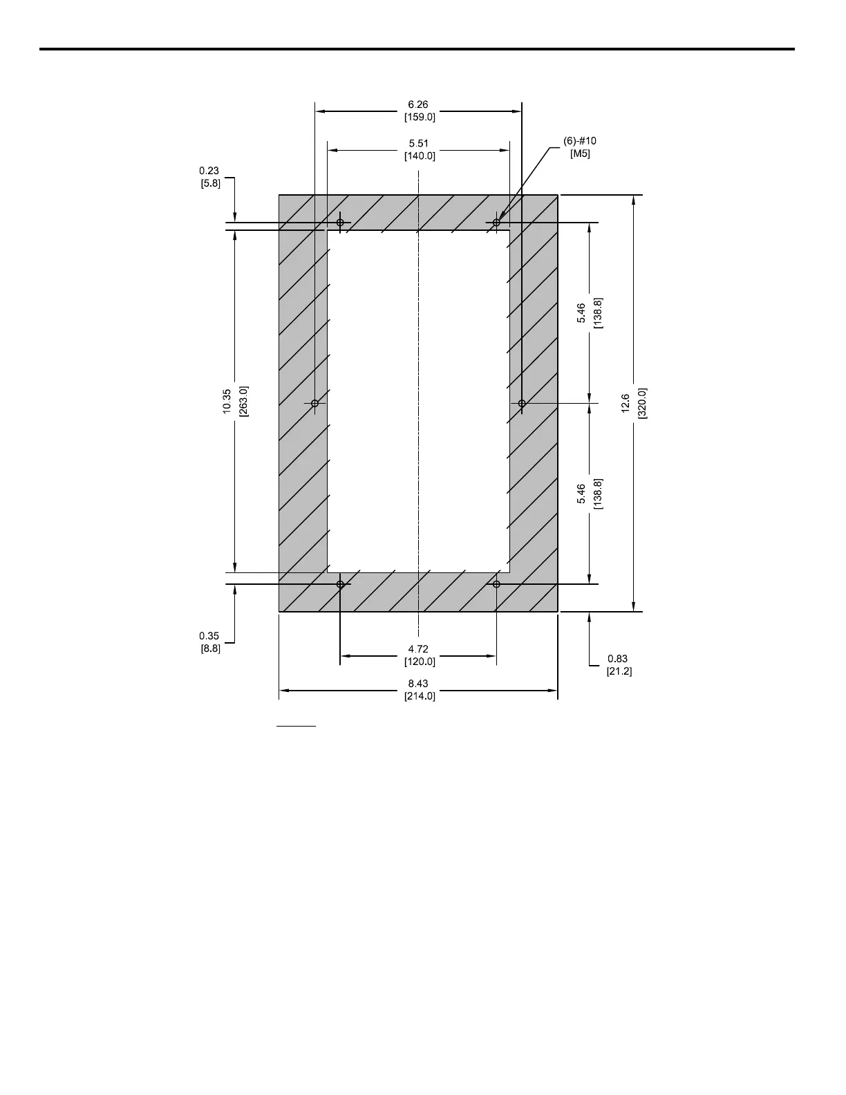
Flange Type Panel Cutout Dimensions for External Heatsink Mounting
Unit: in. [mm]
CUTOUT
NOTES:
1. CUTOUT TOLERANCES:
+/- 0.02 in. [0.5 mm]
2. EXPOSED HEATSINK
RECOMMENDED CLEARANCE
D=2.36 in. MINUS PANEL THICKNESS
Figure 2.18 Models 2A0018 and 2A0021, 4A0007 to 4A0011, and 5A0006 and 5A0009
2.2 Flange Type Enclosure (NEMA 12 Backside) Dimensions & Heat Loss
58
YASKAWA TOEP YAIP1W 01F YASKAWA AC Drive - iQpump1000 User Manual

Table of Contents

Other manuals for YASKAWA iQpump1000

Related product manuals