EasyManua.ls Logo

YASKAWA JUSP-MD D01A Series - Connection to Omrons Position Control Unit

YASKAWA JUSP-MD D01A Series
363 pages
To Next Page IconTo Next Page
To Next Page IconTo Next Page
To Previous Page IconTo Previous Page
To Previous Page IconTo Previous Page
Loading...
10 Appendix
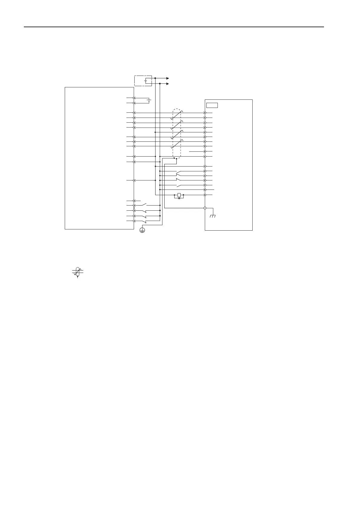
10.1.4 Connection to OMRON’s Position Control Unit
10-6
10.1.4 Connection to OMRON’s Position Control Unit
∗1.
The ALM signal is output for about five seconds after the control power is turned ON. Take this into consideration
when designing the power ON sequence. Also, use the ALM signal to actuate the alarm detection relay 1Ry to stop
the main circuit power supply to the SERVOPACK and converter.
∗2.
Set parameter Pn200.0 to "1."
∗3.
Connect the shielded wire to the connector shell.
∗4.
represents twisted-pair wires.
Note 1. Only the signals that are related to the multi-winding drive unit and the OMRON Position Control Unit are given
in this example.
2. Incorrect signal connections may damage the Position Control Unit, multi-winding drive unit, SERVOPACKs,
and converters.
3. Open the signal lines not to be used.
4. The above connection diagram shows only X-axis connections. When using other axes, make connections to the
SERVOPACK in the same way.
5. Short-circuit the normally closed (NC) input terminals that are not used at the I/O connector section of the posi-
tion control unit.
6. Make the settings so that the servomotor can be turned ON/OFF by the Servo ON (/S-ON) signal.
7. The SERVOPACK incorporates safety functions to protect people from the hazardous operation of the movable
parts of the machines, reduce the risk, and ensure the safety of the machine in operation. Necessary circuits and
settings are required in CN8 to use these functions. If these functions are not used, use the SERVOPACK with the
enclosed safety jumper connected to CN8. For details, refer to
5.11 Safety Function.
Position Control Unit
manufactured by OMRON Corporation
CS1W-NC133 / 233 / 433
5-V power supply for pulse output
5-V GND for pulse output
24-V power supply for output
24-V GND for output
CCW(+) output
CCW(-) output
CW(+) output
CW(-) output
Origin input signal
Origin input common
Error counter reset output
X-axis CW limit input
X-axis CCW limit input
X-axis immediate stop input
X-axis external interrupt input
X-axis origin proximity input
Connector
shell
I/O power supply
CN1
A3
A5
A6
A7
A4
8
20
25
19
12
7
14
15
A16
A11
A14
A1
A2
A8
A20
A22
A23
A21
A19
11
/SIGN
CLR
/CLR
PCO
PULS
/PULS
SIGN
/PCO
COIN+
/COIN-
A24
26
31
32
44
42
43
47
40
+24-V-IN
/S-ON
P-OT
N-OT
/ALM-RST
ALM-
ALM+
1Ry
FG
1
2
3
4
+5 V
Input common
+
-
+24 V
0
24
+24
V
V
Multi-winding drive unit
Analog

Table of Contents

Related product manuals