EasyManua.ls Logo

ABB ACS850 - Output Mode

ABB ACS850
370 pages
Print Icon
To Next Page IconTo Next Page
To Next Page IconTo Next Page
To Previous Page IconTo Previous Page
To Previous Page IconTo Previous Page
Loading...
The ACS850 control panel 23
Output mode
In the Output mode, you can:
monitor actual values of up to three signals
change the direction of the motor rotation
set the speed, frequency or torque reference
adjust the display contrast
start, stop, change the direction and switch between local and remote control.
You get to the Output mode by pressing repeatedly.
The top right corner of the display shows the
reference value. The center can be configured to
show up to three signal values or bar graphs; see
page 31 for instructions on selecting and modifying
the monitored signals.
How to change the direction of the motor rotation
How to set the speed, frequency or torque reference in the Output mode
See also section Reference Edit on page 49.
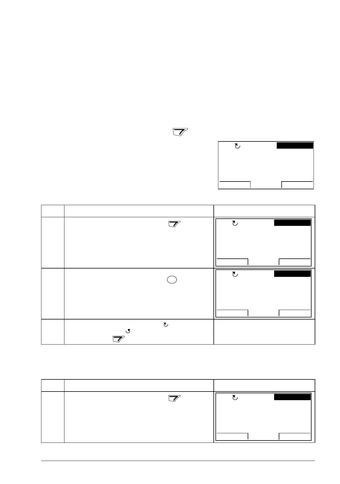
Step Action Display
1. If you are not in the Output mode, press repeatedly
until you get there.
2. If the drive is in remote control (REM shown on the status
line), switch to local control by pressing . The display
briefly shows a message about changing the mode and
then returns to the Output mode.
3. To change the direction from forward ( shown on the
status line) to reverse ( shown on the status line), or
vice versa, press .
Step Action Display
1. If you are not in the Output mode, press repeatedly
until you get there.
EXIT
50 A
10 Hz
7 %10.
0.
49.
LOC
DIR
MENU00:00
30.00rpm
EXIT
50 A
10 Hz
7 %10.
0.
49.
REM
DIR
MENU
00:00
30.00rpm
LOC
REM
50 A
10 Hz
7 %10.
0.
49.
LOC
DIR
MENU
00:00
30.00rpm
DIR
EXIT
50 A
10 Hz
7 %10.
0.
49.
REM
DIR
MENU
00:00
30.00rpm

Table of Contents

Other manuals for ABB ACS850

Related product manuals