EasyManua.ls Logo

ABB ACS850 - Default Control Connections for the PID Control Macro

ABB ACS850
370 pages
Print Icon
To Next Page IconTo Next Page
To Next Page IconTo Next Page
To Previous Page IconTo Previous Page
To Previous Page IconTo Previous Page
Loading...
Application macros 95
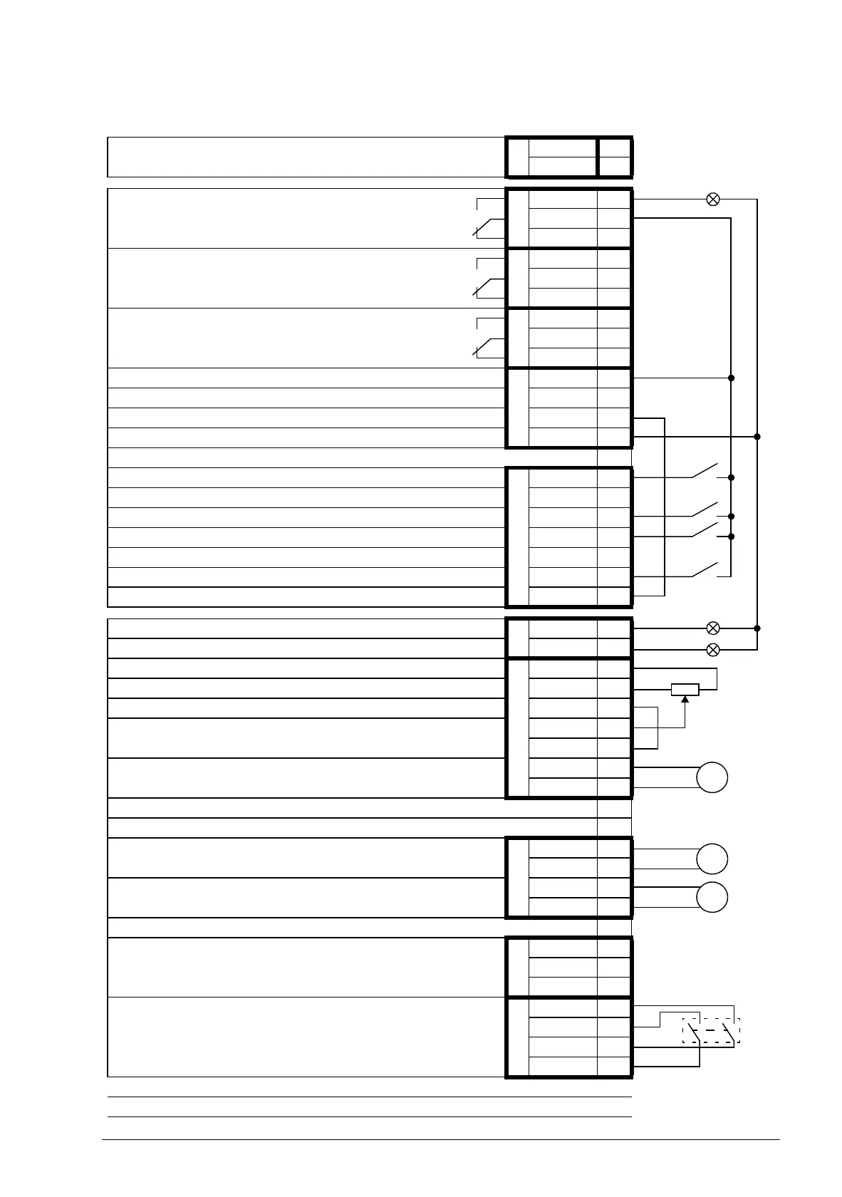
 Default control connections for the PID control macro
External power input
24 V DC, 1.6 A
XPOW
+24VI 1
GND 2
Relay output RO1 [Ready]
250 V AC / 30 V DC
2 A
XRO1
NO 1
COM 2
NC 3
Relay output RO2 [Modulating]
250 V AC / 30 V DC
2 A
XRO2
NO 4
COM 5
NC 6
Relay output RO3 [Fault (-)]
250 V AC / 30 V DC
2 A
XRO3
NO 7
COM 8
NC 9
+24 V DC
XD24
+24VD 1
Digital input ground DIGND 2
+24 V DC +24VD 3
Digital input/output ground DIOGND 4
DI/DIO grounding selection jumpers
Digital input DI1 [EXT1 Stop/Start]
XDI
DI1 1
Digital input DI2 DI2 2
Digital input DI3 [Speed or Process control] DI3 3
Digital input DI4 [Constant speed 1] DI4 4
Digital input DI5 DI5 5
Digital input DI6 or thermistor input [EXT2 Stop/Start] DI6 6
Start interlock (0 = Stop) DIIL A
Digital input/output DIO1 [Output: Ready]
XDIO
DIO1 1
Digital input/output DIO2 [Output: Running] DIO2 2
Reference voltage (+)
XAI
+VREF 1
Reference voltage (–) -VREF 2
Ground AGND 3
Analog input AI1 [Process or Speed reference]
(Current or voltage, selectable by jumper AI1)
AI1+ 4
AI1- 5
Analog input AI2 [Process feedback]
(Current or voltage, selectable by jumper AI2)
AI2+ 6
AI2- 7
AI1 current/voltage selection jumper AI1
AI2 current/voltage selection jumper AI2
Analog output AO1 [Current %]
XAO
AO1+ 1
AO1- 2
Analog output AO2 [Speed %]
AO2+ 3
AO2- 4
Drive-to-drive link termination jumper T
Drive-to-drive link.
XD2D
B1
A2
BGND 3
Safe torque off. Both circuits must be closed for the drive to start.
XSTO
OUT1 1
OUT2 2
IN1 3
IN2 4
Control panel connection
Memory unit connection
PT

Table of Contents

Other manuals for ABB ACS850

Related product manuals