EasyManua.ls Logo

ABB OmniCore V250XT - Page 73

ABB OmniCore V250XT
456 pages
To Next Page IconTo Next Page
To Next Page IconTo Next Page
To Previous Page IconTo Previous Page
To Previous Page IconTo Previous Page
Loading...
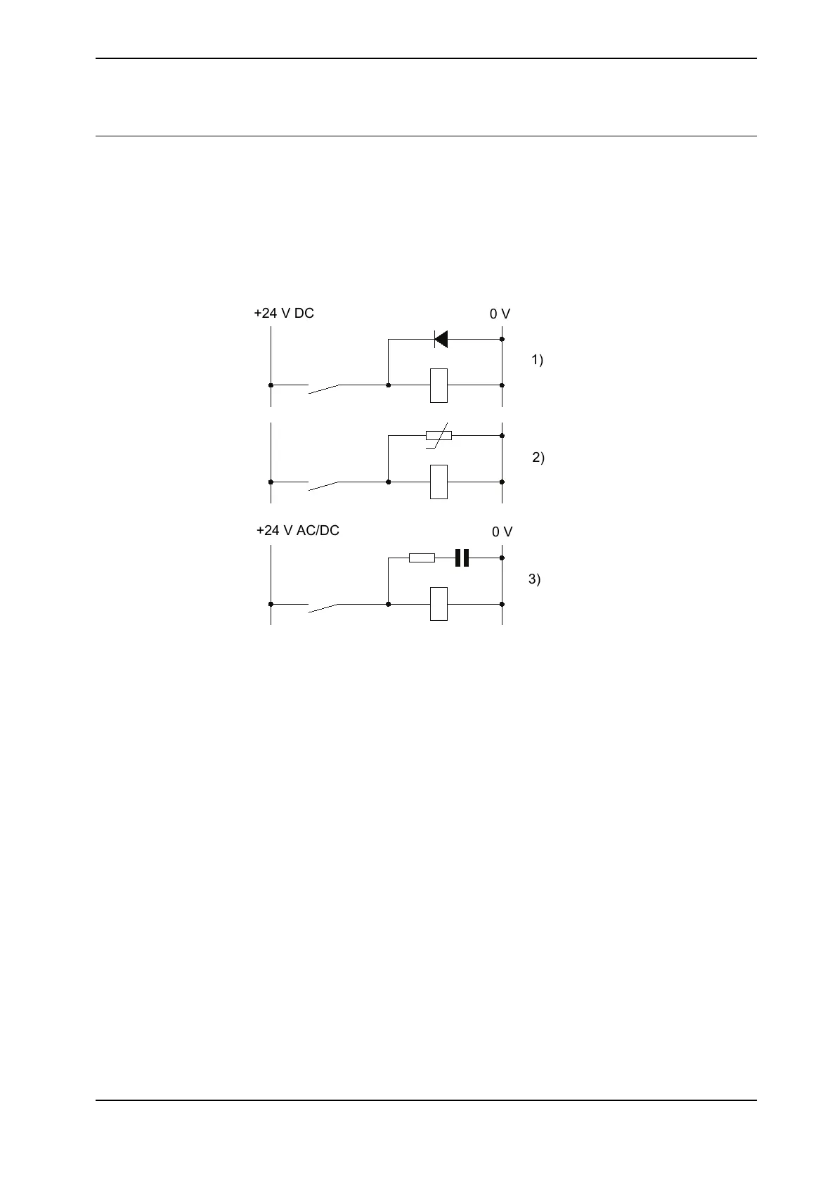
Interference elimination
Internal relay coils and other units that can generate interference inside the control
cabinet are neutralized. External relay coils, solenoids and other units must be
clamped in a similar way. The illustration below shows how this can be done.
Note that the turn-off time for DC relays increases after neutralization, especially
if a diode is connected across the coil. Varistors give shorter turn-off times.
Neutralizing the coils lengthens the life of the switches that control them.
0 V
+24 V DC
1)
2)
3)
0 V
+24 V AC/DC
xx1200000961
1 The diode should be dimensioned for the same current as the relay coil, and
a voltage of twice the supply voltage.
2 The varistor should be dimensioned for the same energy as the relay coil,
and a voltage of twice the supply voltage.
3 When AC voltage is used, the components needs to be dimensioned for >500
V max voltage and 125 V nominal voltage.
The resistor should be 100 Ω, and the capacitor should be 1W 0.1 - 1 µF
(typically 0.47 µF).
Product manual - OmniCore V250XT 73
3HAC073447-001 Revision: B
© Copyright 2020-2022 ABB. All rights reserved.
3 Installation and commissioning
3.5.2 Connecting cables to the controller
Continued

Table of Contents

Related product manuals