EasyManua.ls Logo

AGI D1660 - Catwalk Positions

Default Icon
160 pages
Print Icon
To Next Page IconTo Next Page
To Next Page IconTo Next Page
To Previous Page IconTo Previous Page
To Previous Page IconTo Previous Page
Loading...
24 7713395 R2
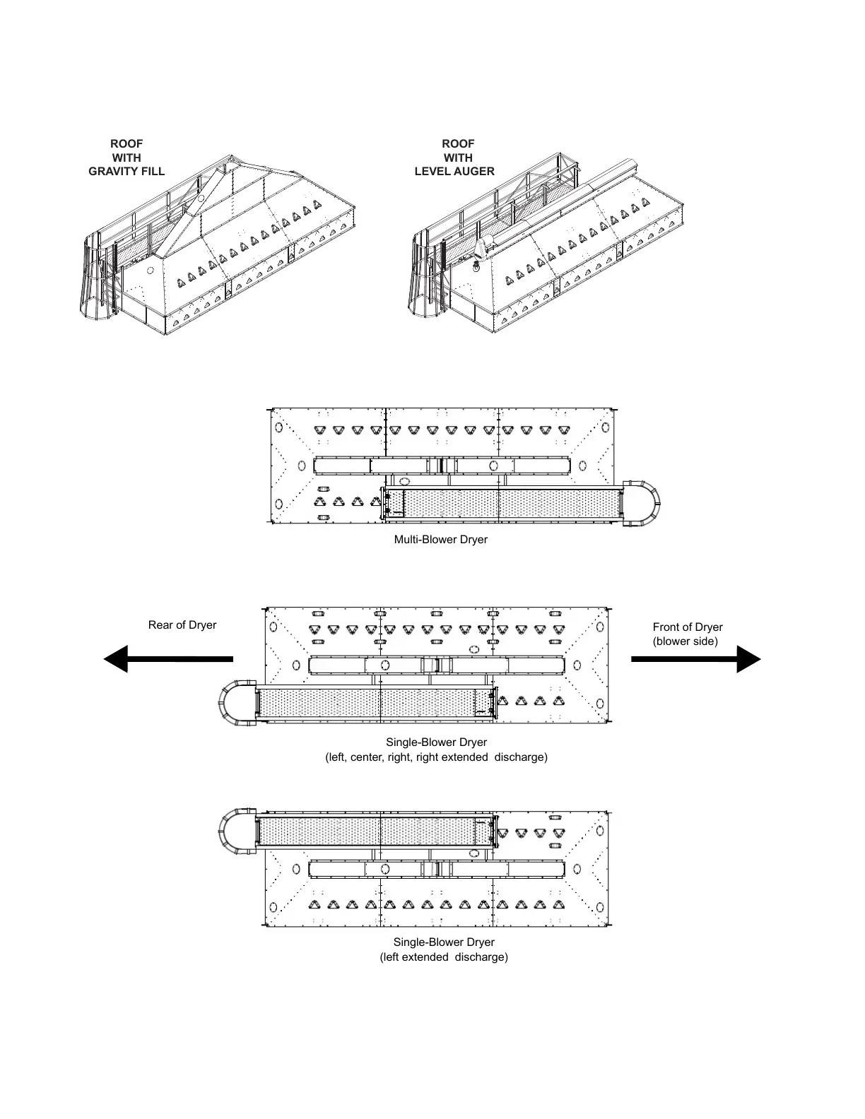
3.2.3 Catwalk Positions
Figure 16. Topside Filling Options
ROOF
WITH
LEVEL AUGER
ROOF
WITH
GRAVITY FILL
Figure 17. Catwalk Positions
Front of Dryer
(blower side)
Rear of Dryer
Multi-Blower Dryer
Single-Blower Dryer
(left, center, right, right extended discharge)
Single-Blower Dryer
(left extended discharge)
3. FEATURES CONTINUOUS MIXED-FLOW GRAIN DRYER WITH COMMANDER CONTROL SYSTEM

Table of Contents

Related product manuals