EasyManua.ls Logo

Baumuller BM4400 - Page 352

Baumuller BM4400
360 pages
Print Icon
To Next Page IconTo Next Page
To Next Page IconTo Next Page
To Previous Page IconTo Previous Page
To Previous Page IconTo Previous Page
Loading...
Technical data safety relay module
Instruction handbook b maXX BM4400, BM4600, BM4700
Document No.: 5.12008.07 Baumüller Nürnberg GmbH
352
of 358
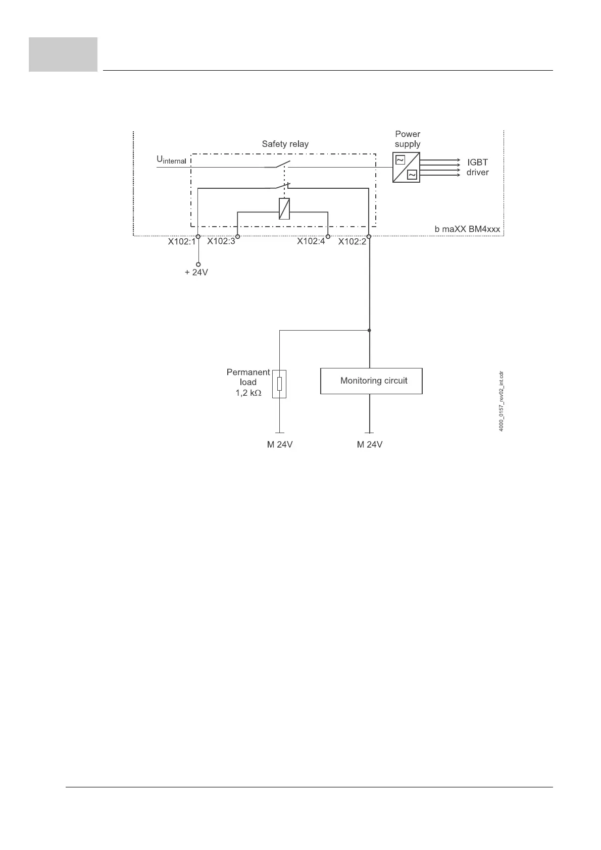
C.5
m Installation of the feedback contact with a permanent load
Figure 121: Installation of the feedback contact with permanent load
Continuous load e.g.:
Housing: Phoenix Contact, EMG12-B2
Part No.: 2948306
Transparent cover: Phoenix Contact, BMG12-H 7.5 mm
Part No.: 2947116
Resistor: 1.2 k / 1 W at T
U
= 70 °C

Table of Contents

Related product manuals