EasyManua.ls Logo

Cisco ONS 15454 - Figure 4-21 15454_MRC-12 Card Faceplate and Block Diagram; Slot Compatibility by Cross-Connect Card

Cisco ONS 15454
728 pages
To Next Page IconTo Next Page
To Next Page IconTo Next Page
To Previous Page IconTo Previous Page
To Previous Page IconTo Previous Page
Loading...
4-42
Cisco ONS 15454 Reference Manual, R7.0.1
OL-9217-01
Chapter 4 Optical Cards
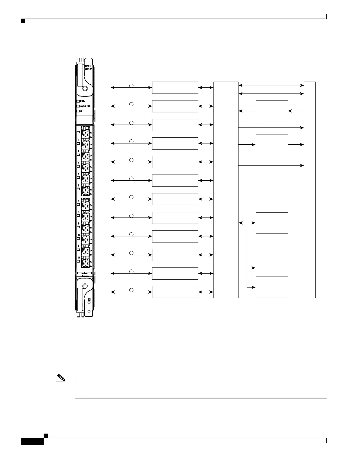
4.18 4.18.1 Slot Compatibility by Cross-Connect Card
Figure 4-21 15454_MRC-12 Card Faceplate and Block Diagram
4.18.1 Slot Compatibility by Cross-Connect Card
You can install 15454_MRC-12 cards in Slots 1 through 6 and 12 through 17 with an XCVT, XC10G,
or XC-VXC-10G.
Note The 15454_MRC-12 card supports an errorless software-initiated cross-connect card switch when used
in a shelf equipped with XC-VXC-10G and TCC2/TCC2P cards.
131788
COMPLIES WITH 21 CFR 1040.10
AND 1040.11 EXCEPT FOR
DEVIATIONS PURSUANT TO
LASER NOTICE No. 50,
DATED JULY 26, 2001
OC-3/12/48
(STM-1/4/16)
Port 1
SFP Optical XCVR
OC-3/12
(STM-1/4/)
Port 2
SFP Optical XCVR
OC-3/12
(STM-1/4)
Port 3
SFP Optical XCVR
OC-3/12/48
(STM-1/4/16)
Port 4
SFP Optical XCVR
OC-3/12
(STM-1/4)
Port 5
SFP Optical XCVR
OC-3/12
(STM-1/4)
Port 6
SFP Optical XCVR
OC-3/12/48
(STM-1/4/16)
Port 7
SFP Optical XCVR
OC-3/12
(STM-1/4)
Port 8
SFP Optical XCVR
OC-3/12
(STM-1/4)
Port 9
SFP Optical XCVR
OC-3/12/48
(STM-1/4/16)
Port 0
SFP Optical XCVR
OC-3/12
(STM-1/4)
Port 11
SFP Optical XCVR
OC-3/12
(STM-1/4)
Port 12
SFP Optical XCVR
Main SCL Intfc.
Protect SCL Intfc.
Amazon
ASIC
B
a
c
k
p
l
a
n
e
Main
iBPIA
Protect
iBPIA
Processor
Flash
Memory

Table of Contents

Other manuals for Cisco ONS 15454

Related product manuals