EasyManua.ls Logo

HIKVISION DS-8108LHFHI-K2

HIKVISION DS-8108LHFHI-K2
87 pages
To Next Page IconTo Next Page
To Next Page IconTo Next Page
To Previous Page IconTo Previous Page
To Previous Page IconTo Previous Page
Loading...
Education Sharing System User Manual
14
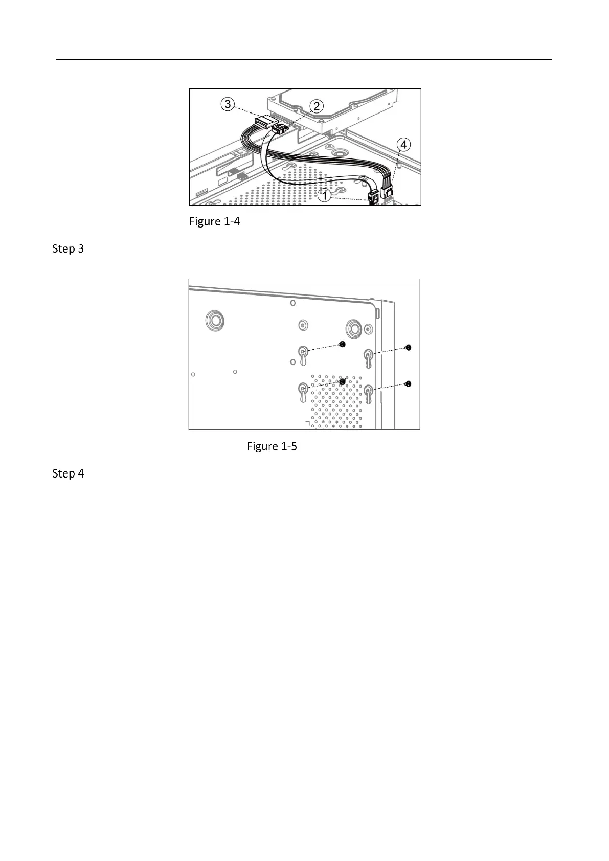
Connect Hard Disk and Motherboard
Fix the hard disk on the bottom panel by fastening the screws between the bottom panel
and hard disk.
Fix Hard Disk
Reinstall the cover and fasten the screws on the rear and side panel.

Table of Contents

Other manuals for HIKVISION DS-8108LHFHI-K2

Related product manuals