EasyManua.ls Logo

IHI 9NX - Bucket Assy

IHI 9NX
110 pages
Print Icon
To Next Page IconTo Next Page
To Next Page IconTo Next Page
To Previous Page IconTo Previous Page
To Previous Page IconTo Previous Page
Loading...
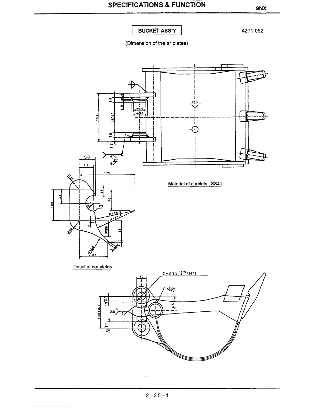
SPECIFICATIONS
&
FUNCTION
9NX
BUCKET
ASS'Y
(Dimension of the ar plates)
Material
of
earplats
:
SS41
Detail
of
ear plates

Table of Contents

Related product manuals