EasyManua.ls Logo

Mitsubishi ECLIPSE - Page 272

Mitsubishi ECLIPSE
381 pages
To Next Page IconTo Next Page
To Next Page IconTo Next Page
To Previous Page IconTo Previous Page
To Previous Page IconTo Previous Page
Loading...
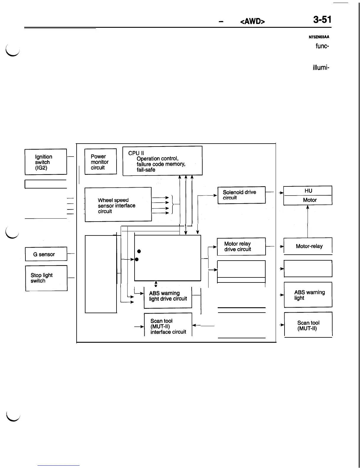
DRIVE-CONTROL COMPONENTS
-
ABS
<AWD>
3-51
ELECTRONIC CONTROL UNIT (ECU)
N73ZNO3AA
L
l The ABS-ECU detects the vehicle speed in
l
The ABS-ECU has diagnostic and memory
func-
terms of a signal from the wheel speed sensor
tions.
to determine the rotating condition of the wheel,
If any failure is found, the fail-safe function is
estimates the skidding condition of the wheel
activated and the ABS warning light will
illumi-
on the basis of the predetermined theory, and
nate.
outputs a signal to move the solenoid valve
in the HU in such a way as to prevent locking
the wheel.
BLOCK DIAGRAM
ABS-ECU
1
Battery I--
r-l
Wheel speed
1
sensors
-
-
Sensor
interface
circuit
r
I
1
I
i
J
-j-YE%q~
0 CPU monitor circuit
-+
0 Motor, solenoid control,
-
monitor circuit
Valve relay
--)
drive circuit
f
I
~~~
~f~iZcuit[
interface circuit
FUNCTION OF INDIVIDUAL CIRCUITS
The function of each circuit is the same as in the
FWD vehicle. (Refer to P. 3-35.)
d-5
Motor-relay
4
Valve relay
/

Table of Contents

Other manuals for Mitsubishi ECLIPSE

Related product manuals