EasyManua.ls Logo

Motortech MIC500 - Page 115

Motortech MIC500
124 pages
Print Icon
To Next Page IconTo Next Page
To Next Page IconTo Next Page
To Previous Page IconTo Previous Page
To Previous Page IconTo Previous Page
Loading...
Rev. 01/2015 115
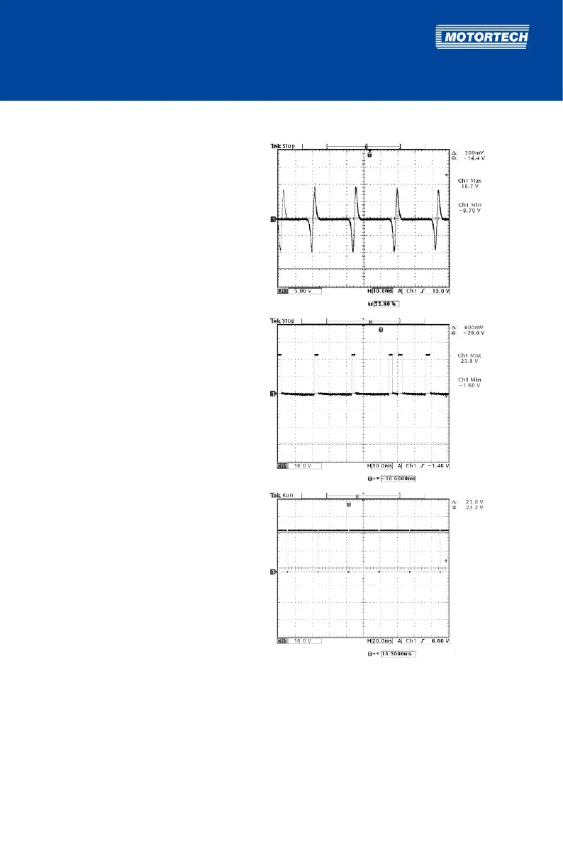
Ideal pickup signal sequence
with a magnetic sensor:
with an inductive sensor:
with a Hall effect sensor:

Table of Contents

Related product manuals