EasyManua.ls Logo

Ricoh Aficio MP C3001 - Shift Tray Exit Sensor

Ricoh Aficio MP C3001
1989 pages
To Next Page IconTo Next Page
To Next Page IconTo Next Page
To Previous Page IconTo Previous Page
To Previous Page IconTo Previous Page
Loading...
Main Body
B793 8 SM
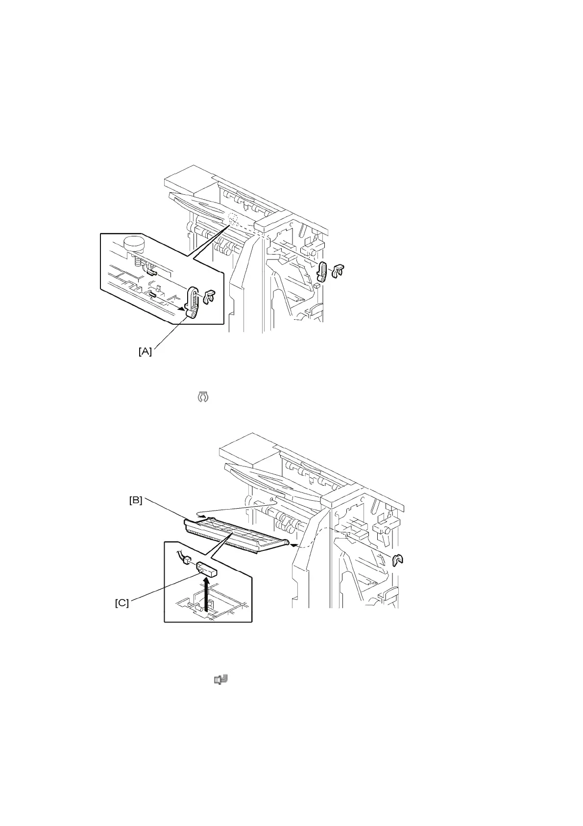
1.2.5 SHIFT TRAY EXIT SENSOR
1. Remove the front cover and upper left cover.
2. Remove the link [A] ( x 1).
3. Remove the exit guide unit [B].
4. Remove the sensor [C] ( x 1).

Table of Contents

Other manuals for Ricoh Aficio MP C3001

Related product manuals