EasyManua.ls Logo

Ricoh Aficio MP C3001 - Side Fence Position Change

Ricoh Aficio MP C3001
1989 pages
To Next Page IconTo Next Page
To Next Page IconTo Next Page
To Previous Page IconTo Previous Page
To Previous Page IconTo Previous Page
Loading...
Side Fence Position Change
D539 10 SM
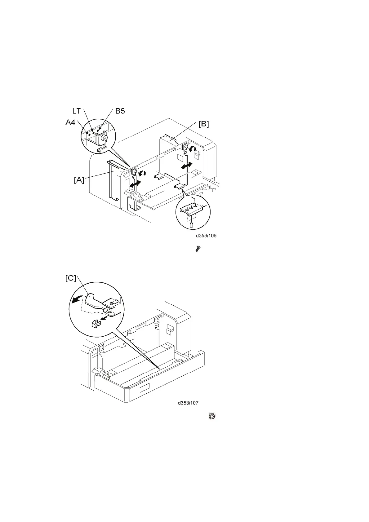
1.5 SIDE FENCE POSITION CHANGE
1. Open the right door of the LCT.
2. Push the down switch to lower the tray bottom plate until it reaches its lowest position.
3. Remove the front and rear side fences [A, B] (
x 1 each).
4. Install the side fences in the correct position (A4 LEF/ LT LEF/ B5 LEF).
5. Pull the end fence [C] for B5 size paper as shown (
x 1) if the the side fences are
adjusted for B5 size paper.
6. Close the right door.
7. Turn on the main power switch, and then go into the SP mode.
8. Input the correct paper size for the1200-sheet LCT with SP5181-017.

Table of Contents

Other manuals for Ricoh Aficio MP C3001

Related product manuals