EasyManua.ls Logo

Ricoh Aficio MP C3001 - Electrical Components; Lct Set Switches; Main Board; Rear

Ricoh Aficio MP C3001
1989 pages
To Next Page IconTo Next Page
To Next Page IconTo Next Page
To Previous Page IconTo Previous Page
To Previous Page IconTo Previous Page
Loading...
Electrical Components
D539 6 SM
1.4 ELECTRICAL COMPONENTS
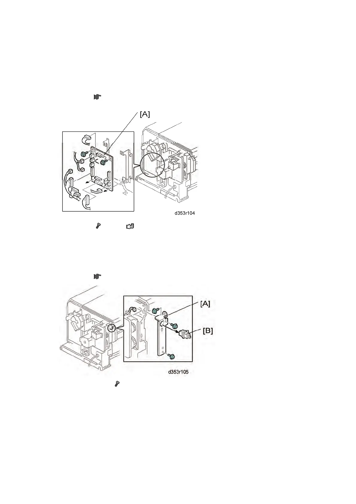
1.4.1 MAIN BOARD
1. Rear cover ( p.1)
2. Main board (
x 2, all 's)
1.4.2 LCT SET SWITCHES
Rear
1. Rear cover ( p.1)
2. Switch bracket [A] (
x 3)
3. Rear LCT set switch [B]

Table of Contents

Other manuals for Ricoh Aficio MP C3001

Related product manuals