EasyManua.ls Logo

Ricoh Aficio MP C3001 - Relay Sensor

Ricoh Aficio MP C3001
1989 pages
To Next Page IconTo Next Page
To Next Page IconTo Next Page
To Previous Page IconTo Previous Page
To Previous Page IconTo Previous Page
Loading...
Relay Sensor
D386 4 SM
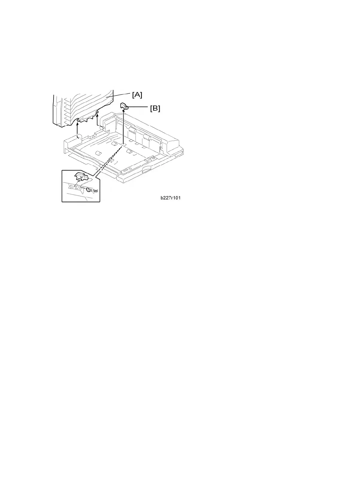
1.4 RELAY SENSOR
1. Bridge unit ( "Installation Procedure" in the base copier manual)
2. Paper tray [A]
3. Relay sensor [B] ( x 1)

Table of Contents

Other manuals for Ricoh Aficio MP C3001

Related product manuals