EasyManua.ls Logo

Ricoh Aficio MP C3001 - Front Scanner Wire

Ricoh Aficio MP C3001
1989 pages
To Next Page IconTo Next Page
To Next Page IconTo Next Page
To Previous Page IconTo Previous Page
To Previous Page IconTo Previous Page
Loading...
Scanner Unit
D086/D087 4-34 SM
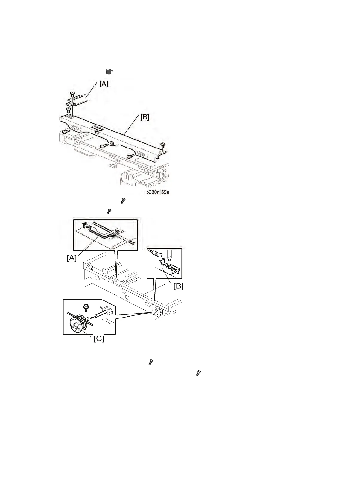
4.5.10 FRONT SCANNER WIRE
1. Exposure glass ( p.4-24)
2. Scanner left stay [A] (
x 3)
3. Front frame [B] (
x 5)
4. Front scanner wire clamp [A]
5. Front scanner wire bracket [B] (
x 1)
6. Front scanner wire and scanner drive pulley [C] (
x 1)

Table of Contents

Other manuals for Ricoh Aficio MP C3001

Related product manuals