EasyManua.ls Logo

SAME SILVER 80 - Adjustment of Front Bevel Drive with SBA System

Default Icon
470 pages
Print Icon
To Next Page IconTo Next Page
To Next Page IconTo Next Page
To Previous Page IconTo Previous Page
To Previous Page IconTo Previous Page
Loading...
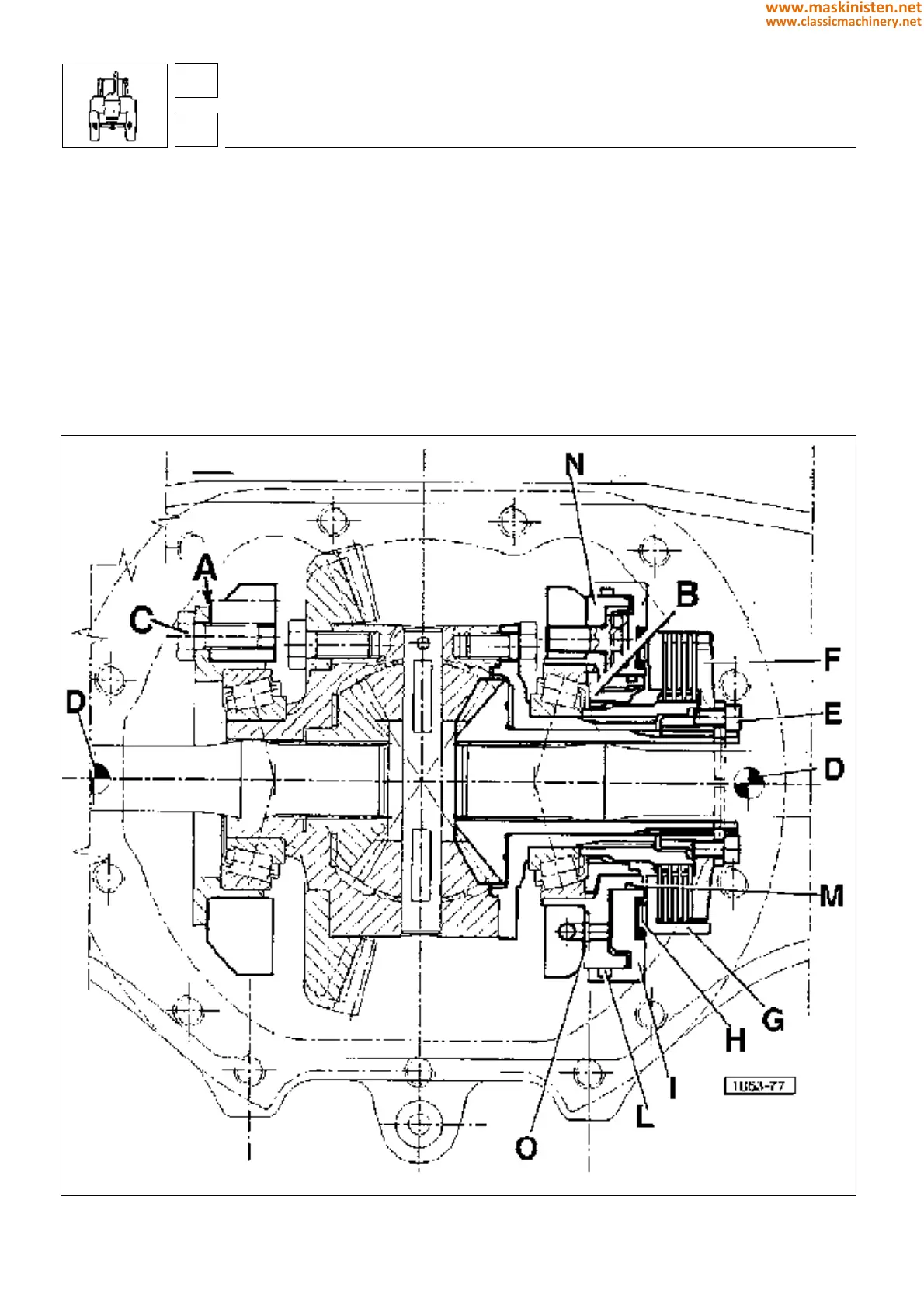
ADJUSTMENT OF FRONT AXLE BEVEL GEAR PAIR ON MACHINES WITH SBA SYSTEM
Having installed the bevel pinion following the directions on page 204, install the crown wheel utilizing the appropriate
number of shims A, p/n 146.4653.0 and 146.4654.0, torque the lock nut B to between 8 and 12 Nm (0.8 - 1.2 kgm),
then verify that backlash between the crown wheel and pinion teeth is between 0.15 and 0.20 mm. If not, adjust by
adding or removing shims at pack A.
Rotate the differential through at least 10 full turns, then retorque the lock nut B to between 2 and 4 Nm (0.2 - 0.4 kgm);
this will ensure that the bearings are neither slack nor preloaded.
Stake the lock nut B at one point only, using a suitable punch.
Remove the bolts C, apply Loctite 242 to the threads, then replace and torque to between 39 and 43 Nm (4 - 4,4 kgm).
Fig. 4 - Section through differential unit on machine with SBA system.
drive axles - axles
4-W.D. front axle
43
4
210
www.maskinisten.net
www.classicmachinery.net

Table of Contents

Related product manuals