EasyManua.ls Logo

SAME SILVER 80 - Page 325

Default Icon
470 pages
Print Icon
To Next Page IconTo Next Page
To Next Page IconTo Next Page
To Previous Page IconTo Previous Page
To Previous Page IconTo Previous Page
Loading...
controls
electro-hydraulic controls
A - oil filters
B - oil pump
C - oil filter
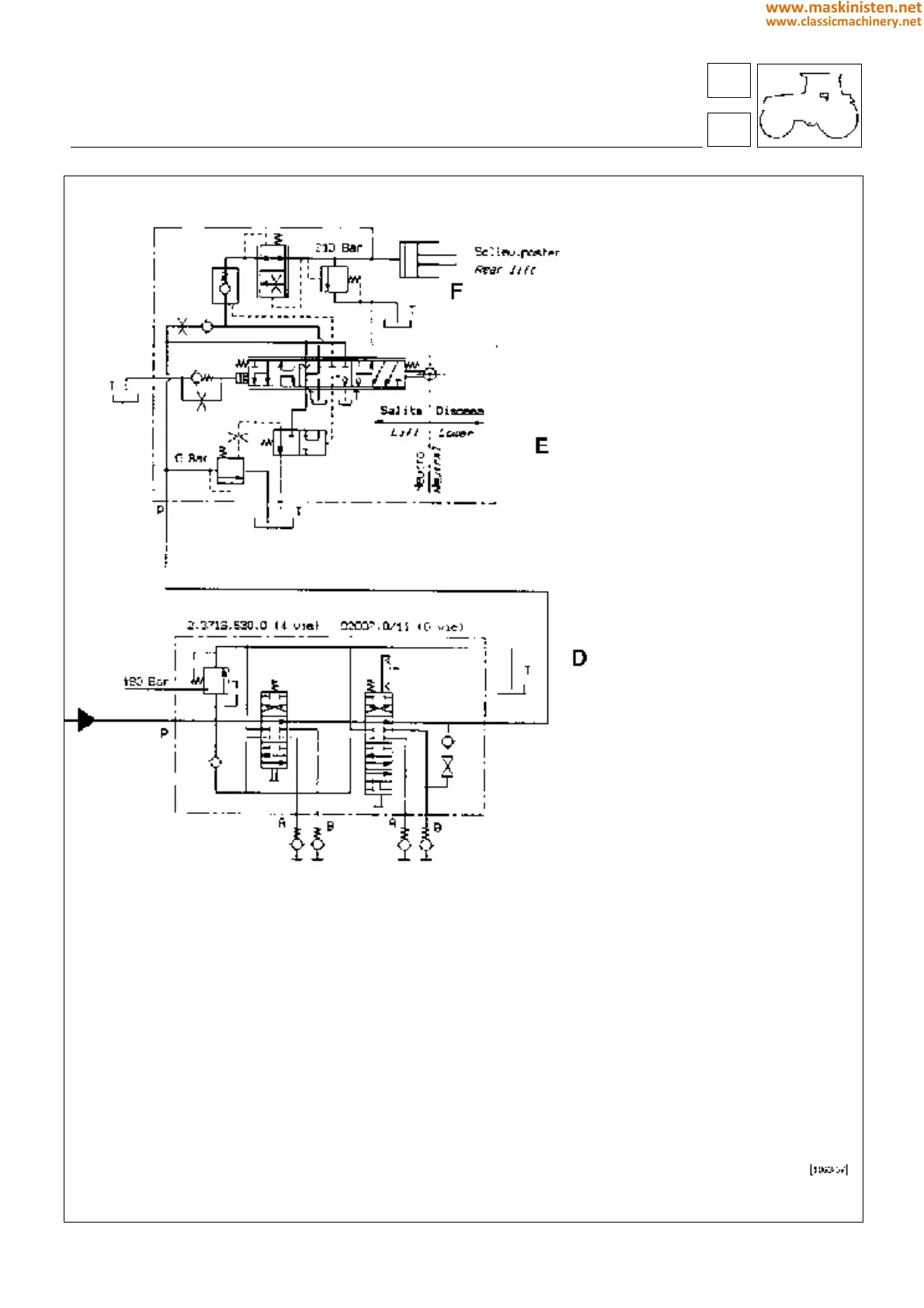
D - auxiliary spool valve
E - hydraulic circuit for mechanical type lift system
F - lift cylinders
G - hydraulic pump
H - power steering directional control valve
I - resonators
L - pressure control valves assembly
M - valve mounting
N - rear P.T.O. clutch
O - rear P.T.O. clutch directional control valve
P - steering cylinders
Q - heat exchanger
R - transmission lubrication
68
6
325
www.maskinisten.net
www.classicmachinery.net

Table of Contents

Related product manuals