EasyManua.ls Logo

Siemens SITRANS P DS III - SITRANS P DS III for Level

Siemens SITRANS P DS III
256 pages
Print Icon
To Next Page IconTo Next Page
To Next Page IconTo Next Page
To Previous Page IconTo Previous Page
To Previous Page IconTo Previous Page
Loading...
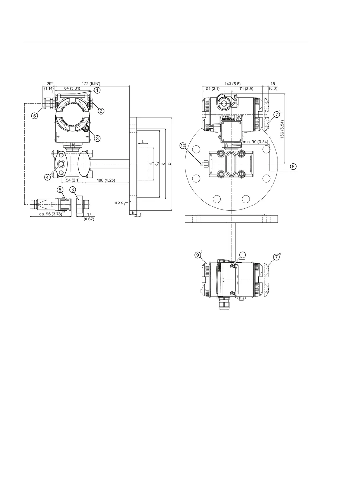
Dimension drawings
14.3 SITRANS P DS III for level
SITRANS P DS III with PROFIBUS PA
226 Operating Instructions, 06/2013, A5E00053276-07
14.3
SITRANS P DS III for level
Key cover
Blanking plug
Cover catch (only for "flameproof enclosure" type of protection)
Process connection: Minus side
1
/
4
-18 NPT (EN 61518)
Electrical connection:
Pg 13.5 gland (adapter)
2)3)
M20 x 1.5 gland
3)
1
/
2
-14 NPT gland
Han 7D/Han 8D plug
2) 3)
M12 connector
Han 7D/Han 8D adapter
Electronics side, display (longer for cover with inspection window)
Space for enclosure rotation
5)

Table of Contents

Other manuals for Siemens SITRANS P DS III

Related product manuals