EasyManua.ls Logo

Sony DSBK-150 - PB Component Y;C Delay Adjustment

Sony DSBK-150
350 pages
Print Icon
To Next Page IconTo Next Page
To Next Page IconTo Next Page
To Previous Page IconTo Previous Page
To Previous Page IconTo Previous Page
Loading...
8-16 (N)
DSR-70/70P
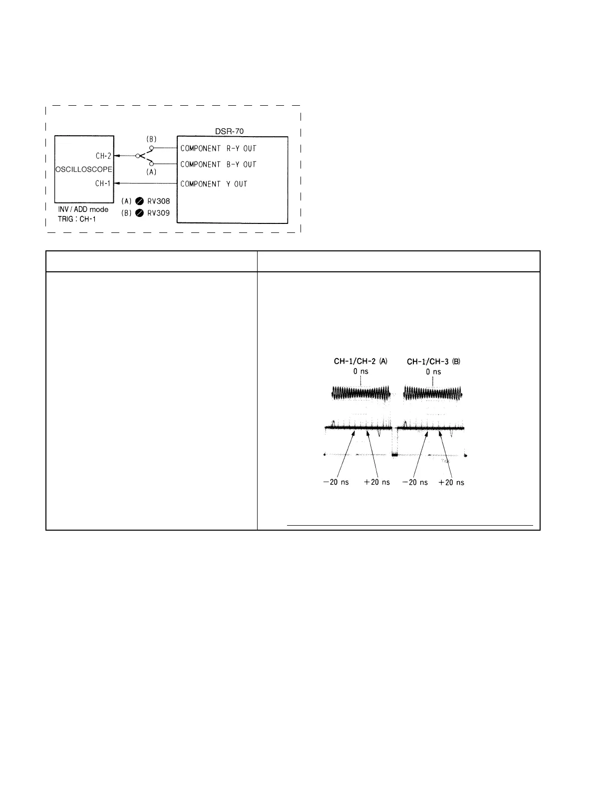
[Connection for reference] Using for an oscilloscope
. PB mode
Bowtie/XH5-1A2 (02:00-02:30)
Connection 1
COMPONENT OUT (75 Z terminated)
(A) B-Y Delay (B) R-Y Delay
1RV308/DEN-11 (
*
E-3) 1RV309/DEN-11 (
*
E-3)
TRIG : EXT/WFM
Bowtie mode
Spec. Set the each Bowtie dip point of (A) and (B) on the center marker.
0 ±20 ns
Conditions for adjustment Adjustment
..
..
. Specification
8-2-2-16. PB Component Y/C Delay Adjustment

Table of Contents

Related product manuals