EasyManua.ls Logo

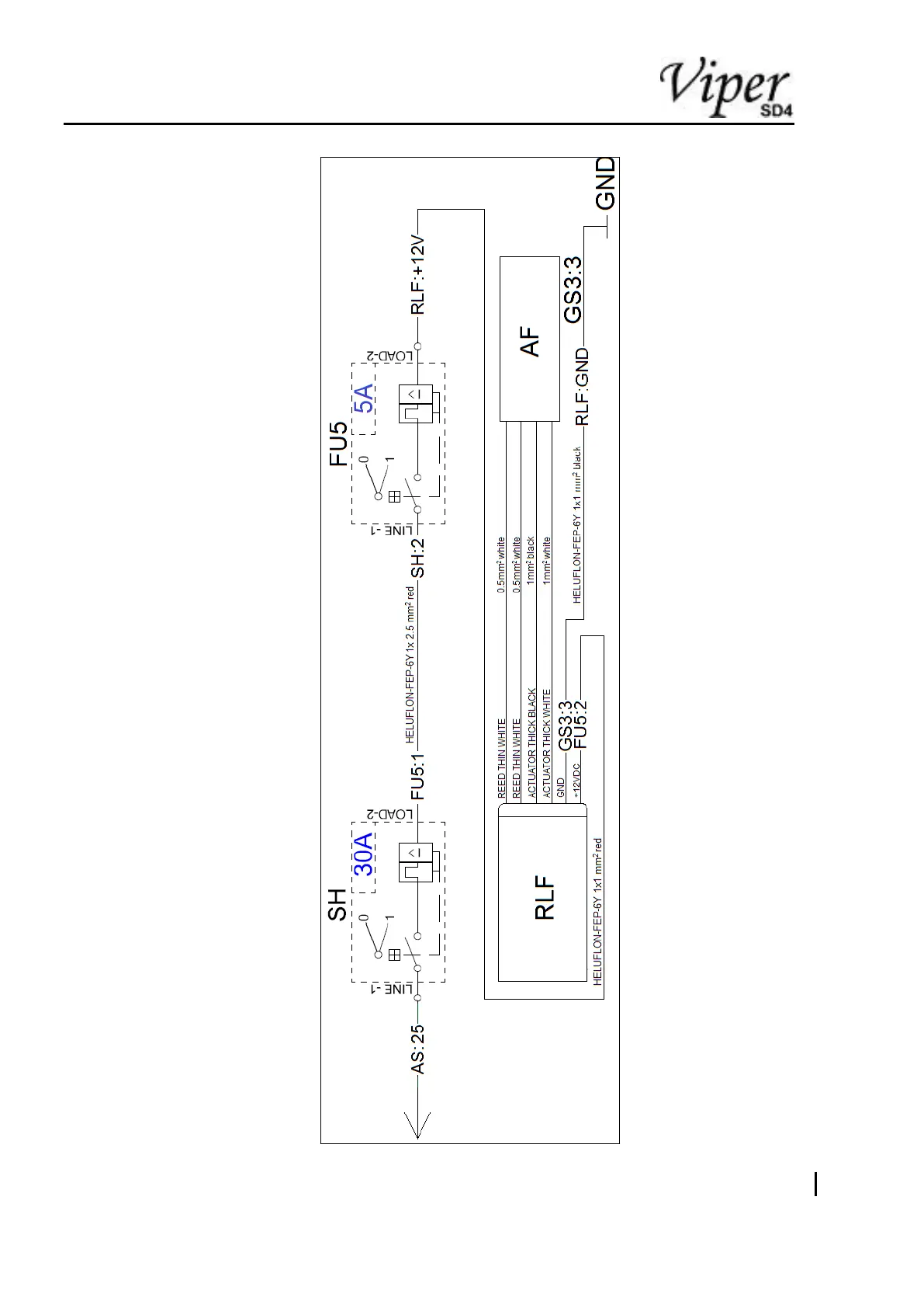
TOMARK Viper SD-4 RTC - Figure 46 FU5 Power Supply for Flaps

TOMARK Viper SD-4 RTC
203 pages
Print Icon
To Next Page IconTo Next Page
To Next Page IconTo Next Page
To Previous Page IconTo Previous Page
To Previous Page IconTo Previous Page
Loading...
TOMARK, s.r.o.
Airplane Maintenance Manual
Chapter 91 Charts
Page 196 Issue: 28.FEB 2017
Figure 46 FU5 power supply for Flaps

Table of Contents