EasyManua.ls Logo

artisan 8640B - Binary Latch; Binary Shift Register; Decade Counters and Symbols

artisan 8640B
411 pages
Print Icon
To Next Page IconTo Next Page
To Next Page IconTo Next Page
To Previous Page IconTo Previous Page
To Previous Page IconTo Previous Page
Loading...
Model 8640B TM 9-4935-601-14-7&P
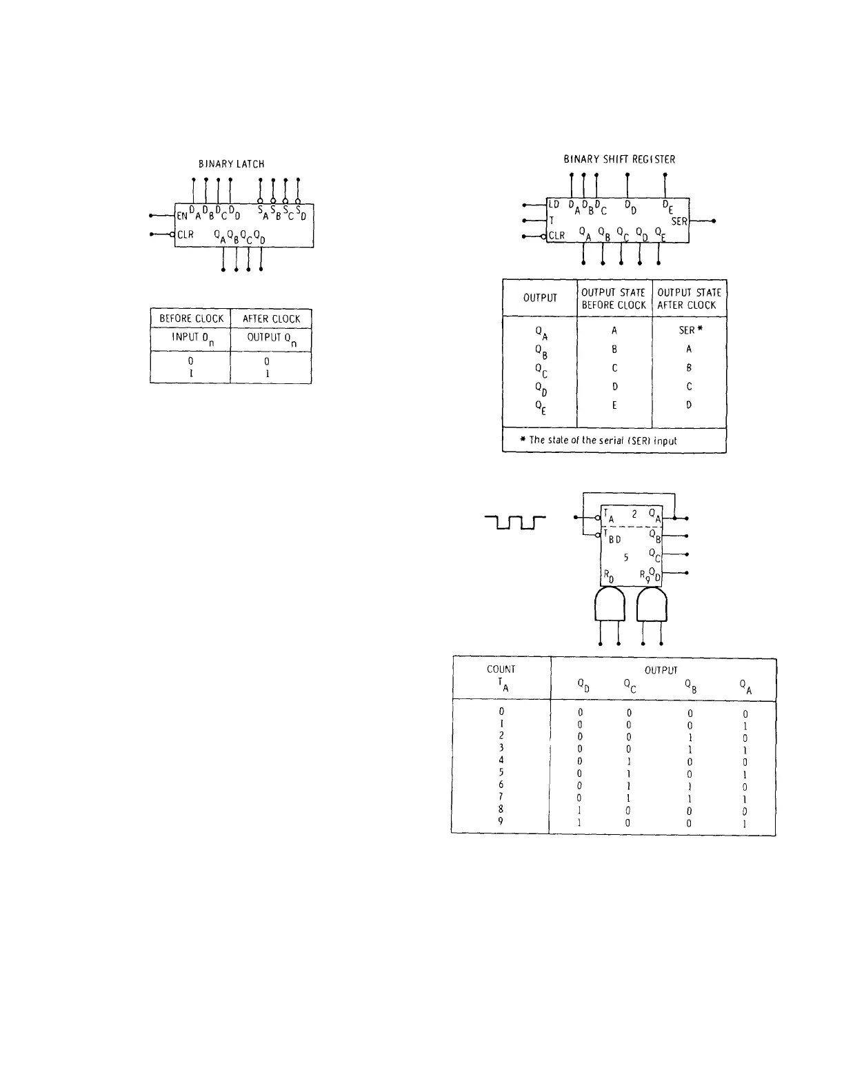
8-60. A low at the clear (CLR) input clears all outputs to
a low independent of the clock. The clear input
overrides the load input.
Figure 8-9. Binary Latch
8-61. Decade Counters and Symbols 8-62. Basic
Counter. The basic decade counter (or scaler or
divider), shown in Figure 8-11, has ten logic states. The
active-high outputs (Q
A
, Q
B
, Q
C
, and Q
D
) increment by
one BCD count each time the trigger (T
A
) or clock input
goes from a high to a low. The count sequence is also
shown in the figure. The counter may be subdivided
into a divide-by-two and a divide-by-five counter. The
two counters are connected in series (the Q
A
output
connected to the T
BD
input) to obtain a divide-by-ten
counter. The counter has two ANDed clear or reset-to-
zero (R
0
) inputs. When both R
0
inputs are high, the
outputs clear to zero. The clear function overrides the
clock. Similarly, the two ANDed set or reset-to-nine (R
9
)
inputs set the outputs to the nine count. If all reset-to-
zero and reset-to-nine inputs are simultaneously high,
the reset-to-nine overrides the reset-to-zero.
8-63. Programmable Counter. The programmable
decade counter, shown in Figure 8-12, operates
similarly to the basic decade counter when the load (LD)
input is high. The counter shown has only a single clear
(CLR) input which is active-low. When the load input is
low, the information at the data (or preset) inputs (D
A
,
D
B
, D
C
, and D
D
) is transferred to the outputs at the next
high going clock (T) input. The outputs remain in the
preset state until the load input returns to a high and the
trigger (T) or clock input again goes high at which time
the count increments by one. The counter may be
preset to a count greater than nine, but in such cases
the count proceeds as shown in the state diagram.
Figure 8-10. Binary Shift Register
Figure 8-11. Basic Decade Counter (Scaler)
8-9
Artisan Technology Group - Quality Instrumentation ... Guaranteed | (888) 88-SOURCE | www.artisantg.com

Table of Contents