EasyManua.ls Logo

artisan 8640B - FM Linearity Circuit

artisan 8640B
411 pages
Print Icon
To Next Page IconTo Next Page
To Next Page IconTo Next Page
To Previous Page IconTo Previous Page
To Previous Page IconTo Previous Page
Loading...
Model 8640B TM 9-4935-601-14-7&P
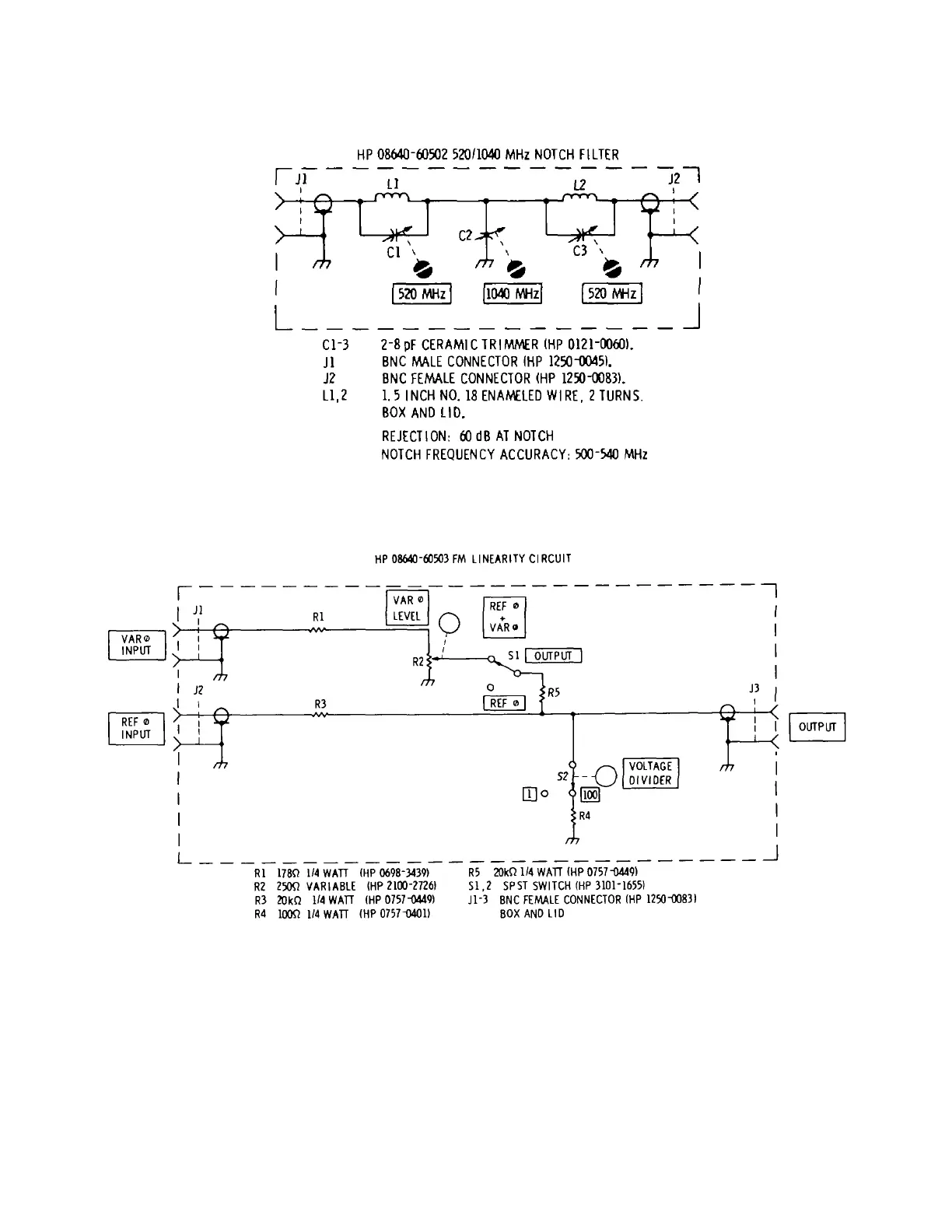
Figure 1-7. 520/1040 MHz Notch Filter.
Figure 1-8. FM Linearity Circuit.
1-21
Artisan Technology Group - Quality Instrumentation ... Guaranteed | (888) 88-SOURCE | www.artisantg.com

Table of Contents