EasyManua.ls Logo

artisan 8640B - Page 397

artisan 8640B
411 pages
Print Icon
To Next Page IconTo Next Page
To Next Page IconTo Next Page
To Previous Page IconTo Previous Page
To Previous Page IconTo Previous Page
Loading...
TM 9-4935-601-14-7&P
Model 8640B
SERVICE SHEET B (Cont'd)
12. Unsolder five wires from feedthroughs to left of A8A1
Assembly. Remove A8A1.
A8A3 Removal
13. On bottom of A8 Assembly casting, under A8A3 Assembly,
remove hex nut and lockwasher that secure A8A3J1.
14. Unsolder five wires from feedthroughs to right of A8A3
Assembly.
15. Remove two board supports and pan-head screw (with
lockwashers). Remove A8A3.
Reassembly
16. Reassemble and reinstall A8 Assembly be reversing the procedures in
steps one through 15.
NOTES
1. When replacing the casting top cover be sure that the
prongs on the brass RFI shield are behind the casting
wall.
2. The button shield must be carefully aligned to be sure
that the buttons do not catch on the edges of the
holes. Check the action of all the COUNTER MODE
buttons when the window is replaced.
SERVICE SHEET B (Cont'd)
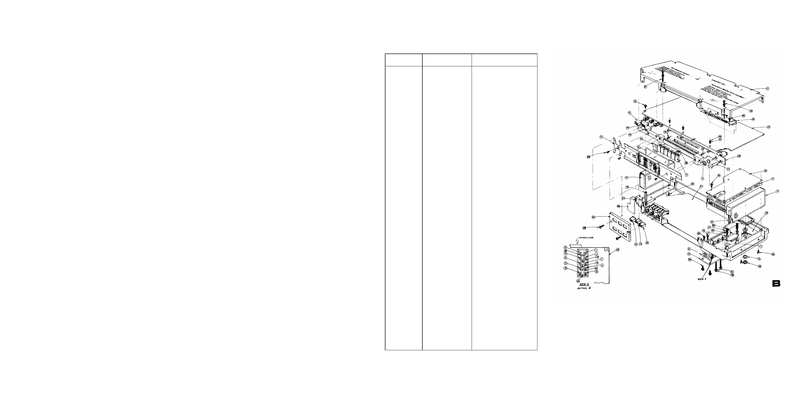
A8 Counter/Lock Assembly Legend
Item Number Reference
Designator
Description
1 A8FL1-4 Feed Thru Filter
2 A8C1-4 Feed Thru Capacitor
3 A8C5,6 Feed Thru Capacitor
4 A8MP1 Bushing Insulator (Nylon)
5 A8U1-6 Numeric Display
6 A8MP2 Lockwasher
7 A8MP3 Mica Washer
8 A8MP4 Center Filter Gasket
9 A8MP5 Center Scaler Gasket
10 A8L1-5 Inductor
12 A8MP6 LED/Button Shield
13 A8MP7 Center Filter Cover
14 A8MP8 Large Frame (RF Shield)
15 A8MP9 Small Frame (RF Shield)
16 A8MP10 Center Input Cover Shield
17 A8 MP11 Heat Sink
18 A8MP12 Counter Window
19 A8MP13 P.C. Board Support
20 A8MP14 Button Shield
21 A8MP15 Top Casting Cover
22 A8MP16 Bottom Casting
23 A8MP17 Light Pipe
25 A8MP18 Light Pipe
26 A8A4 Counter/Display Assembly
27 A8A3 Time Base Assembly
28 A8A2 Counter/Lock Assembly
29 A8A5 Counter Riser Board
30 A8A1 R.F. Scaler Assembly
31 A8MP19 X10 Button
32 A8MP20 X100 Button
33 A8MP21 ON Button
34 A8MP22 INT Button
35 A8MP23 EXT Button
36 A8MP24 Flat Washer
37 A8MP25 Lockwasher
38 A8MP26 Machine Screw
39 A8MP27 Machine Screw
40 A8MP28 Machine Screw
41 A8MP29 Lockwasher
42 A8MP30 Hex Nut
43 A8MP31 Flat Head Screw
44 A8MP32 Counter Insulator
45 A8MP33 Machine Screw
46 A8MP34 Machine Screw
47 A8MP35 Lockwasher
48 A8MP36 Machine Screw
50 A8MP37 Machine Screw
51 A8MP38 Machine Screw
52 A8MP39 Blind Dome Rivet
Figure 8-77. A8 Counter/Lock Assembly Illustrates Parts Breakdown
8-73
Artisan Technology Group - Quality Instrumentation ... Guaranteed | (888) 88-SOURCE | www.artisantg.com

Table of Contents