EasyManua.ls Logo

Baer DLX - 7.7.3 Billing data

Baer DLX
178 pages
Print Icon
To Next Page IconTo Next Page
To Next Page IconTo Next Page
To Previous Page IconTo Previous Page
To Previous Page IconTo Previous Page
Loading...
65
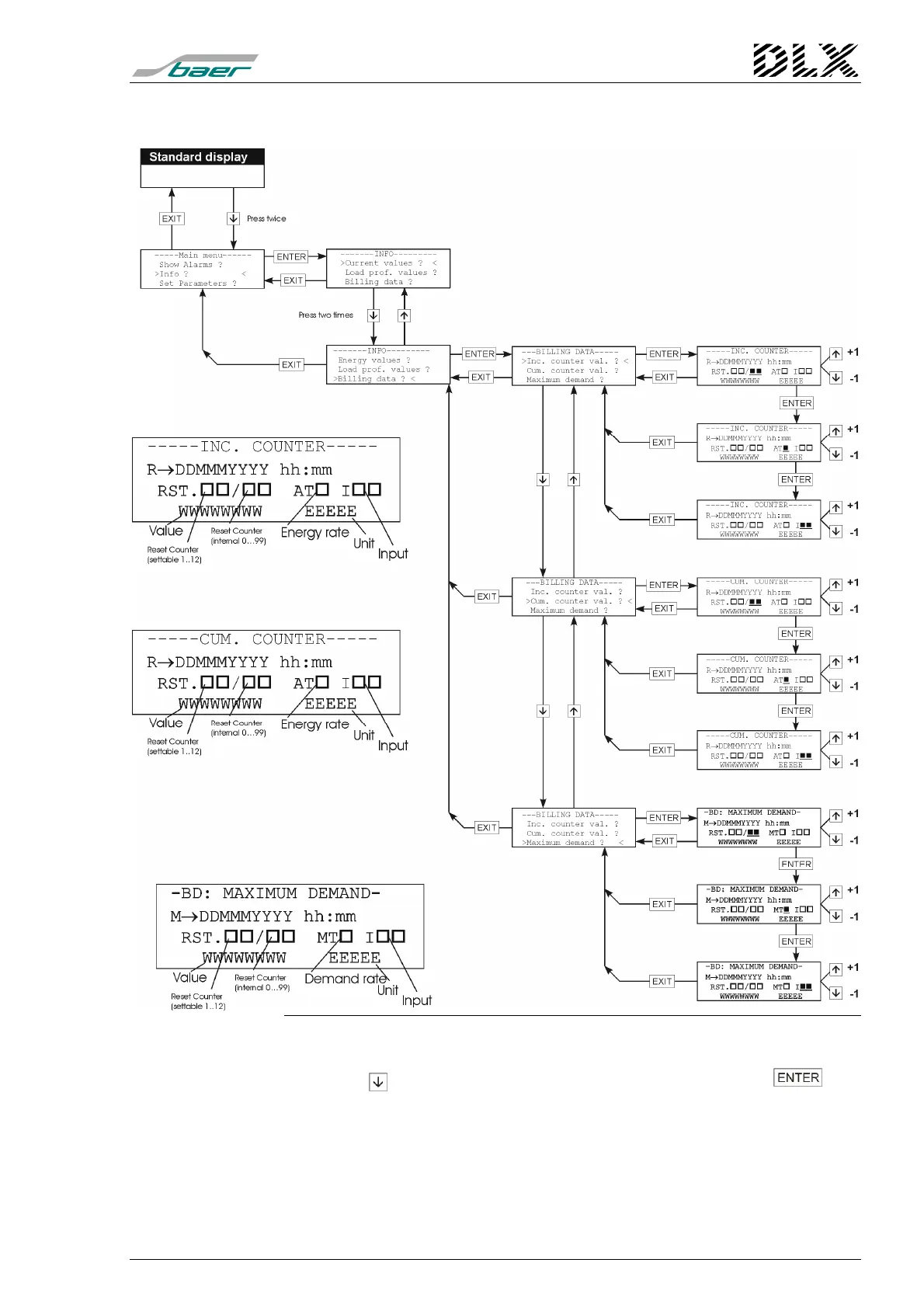
7.7.3 Billing data
Figure 33, Flow diagram for menu item “Info” (Billing data)
How to get there
Press the key twice when in menu “Info” and then press the key.
The DLX enters the menu item selected (the one surrounded by two ar-
rows). There will be three submenu items:
Increment counter value: consumption (energy) at the billing period
Cumulative counter value: total energy
Maximum demand

Table of Contents