EasyManua.ls Logo

Bailey Infi 90 - Circuit Breakers CB1;CB2

Bailey Infi 90
100 pages
Print Icon
To Next Page IconTo Next Page
To Next Page IconTo Next Page
To Previous Page IconTo Previous Page
To Previous Page IconTo Previous Page
Loading...
INSTALLATION
IEPEP03 POWER ENTRY PANEL WIRING
I-E96-506B1 3 - 3
2. Connect the primary 120 VAC or 240 VAC power lines to
TB1-1, TB1-2 and TB1-3.
3. Connect the secondary AC power lines (if used) to TB1-4,
TB1-5 and TB1-6. Both inputs must be the same nominal volt-
age level.
If only one AC power input is being used, proceed with Step 4.
If not, skip to Step 5.
4. Connect TB1-1 to TB1-4, TB1-2 to TB1-5, and TB1-3 to
TB1-6. Use 12 AWG as a minimum and 6 AWG as a maximum.
Note that this step avoids false bad status information because
it connects line 1 and line 2 inputs together.
5. Connect cable 6637813_1 from J2 on the power entry
panel to the system power bus bar. This cable provides connec-
tions to sample the DC bus voltages, monitor the power
module status signal and output a power fail interrupt signal.
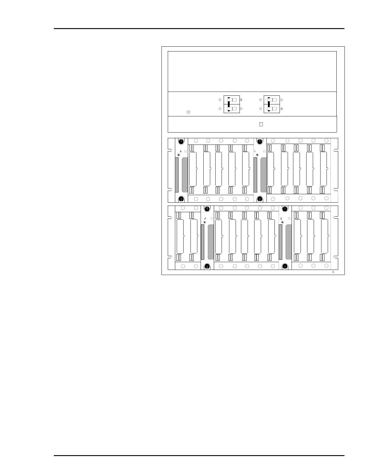
Figure 3-1. Circuit Breakers CB1/CB2
IEPEP03
WRIST
STRAP
GROUND
CB2 CB1LINE 2 LINE 1
IEFAN0
IEPAS0
IEPAS0
IEPAS0
IEPAS0
TP25377B
Artisan Technology Group - Quality Instrumentation ... Guaranteed | (888) 88-SOURCE | www.artisantg.com

Table of Contents

Related product manuals