EasyManua.ls Logo

Beta RR 4T-400 - Changing the Wheel Circumference

Beta RR 4T-400
196 pages
Print Icon
To Next Page IconTo Next Page
To Next Page IconTo Next Page
To Previous Page IconTo Previous Page
To Previous Page IconTo Previous Page
Loading...
27
4 - Maintenance Release 01 Date 09/2007
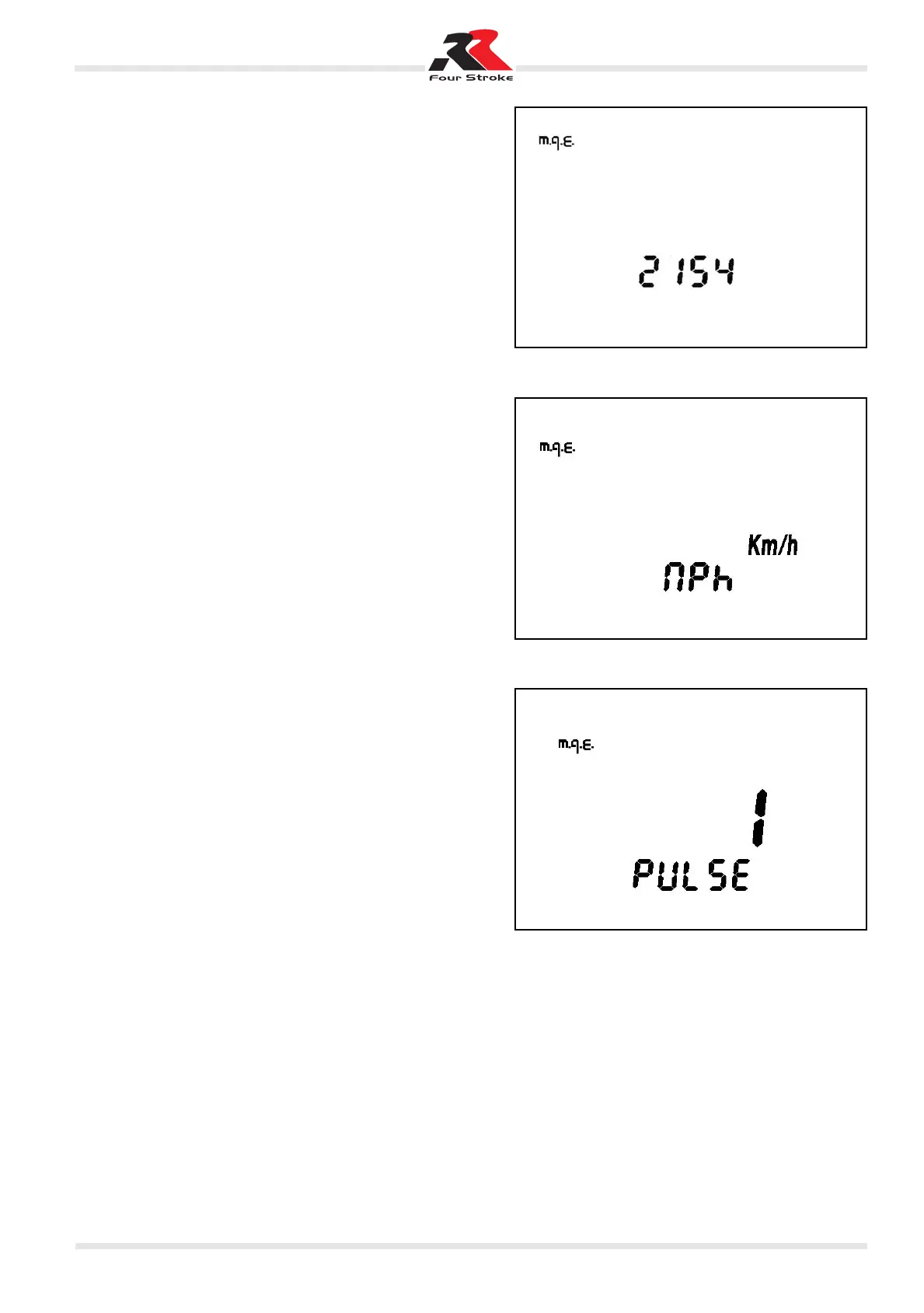
CHANGING THE WHEEL CIRCUMFERENCE,
UNIT AND NUMBER OF PULSES
The wheel circumference, the unit and the number of wheel
pulses can be altered only when the vehicle is stationary.
Hold down the button while the TOD function is active until the on-
ly information displayed is the circumference and all the other seg-
ments are switched off. The different digits that make up the wheel
circumference figure can be altered in succession from the most
significant digit to the least significant digit. To shift the selection
from one digit to the next (the selected digit will blink with f = 1 Hz,
Duty = 50%), press the button for a short time.
NOTE: The wheel circumference can range from 1000 to 2500
mm in 1 mm steps. If the selected wheel circumference is
greater than 2500 mm, the system automatically selects the de-
fault value (2154 mm).
Once the wheel circumference has been adjusted, the unit can
be changed by holding the button down for about 3 seconds
while the least significant digit is active. This will bring up the two
abbreviations km/h and Mph and the selected unit will blink for
a few seconds (f = 1 Hz, Duty = 50%). The parameter is
changed as described above. When the unit is changed, the TD
and LAP parameters are both irreversibly deleted.
Pressing the mode button for about 3 seconds when the select-
ed unit is active (the unit will blink with f = 1Hz, Duty = 50%),
makes it possible to alter the number of wheel pulses.
This parameter indicates the number of pulses that the elec-
tronic transmission sends to the instruments for each wheel
turn, with a maximum of 6+ pulses for each wheel turn.
NOTE: The pulses may NOT be equally spaced.
Pressing the mode button for about 3 seconds while the corre-
sponding value is selected will return the system to the standard
operating mode.
Installing the instrument panel
The default circumference value is 2154 mm, the units for
speeds and distances are km/h and km respectively. The default
setting for the number of pulses is 1 pulse per wheel turn. To
change any one of these parameters, use the procedure de-
scribed in the previous paragraphs. When the instruments are
first installed, the software version and production date are dis-
played for about 2 seconds. Immediately after the display has
been checked and the preset wheel circumference and number
of pulses per wheel turn have been displayed, the system goes
into standard operating mode.
High power consumption functions Given its high power con-
sumption, the backlight unit and the warning lights are operated
only by the power supplied by the vehicle. When no power is
supplied (and the backup battery is activated) the backlighting is
turned off and the warning lights disabled. This, however, does
not prevent the instruments from working properly.
E2 prom erasing procedure When testing and checking an instru-
ment, it is sometimes useful to erase the E2prom memory. This is a
procedure which, in principle, is not intended for the user.
To gain access to the procedure, follow these steps:
• Disconnect the instrument panel from the main battery and the
backup battery.
• Connect pin 5 of the input connector (unwired) to 12 V.
• Press the button.
• Restore the connection with the backup battery or the main
battery (if present).
The system will then erase all the data contained in the E2prom
and activate the default values (wheel circumference 2154 mm,
speeds measured in km/h, distances measured km, 1 pulse per
wheel turn). There is no way to retrieve the erased data.
04_Inghilterra_059311 27-12-2007 18:10 Pagina 27

Table of Contents

Related product manuals