EasyManua.ls Logo

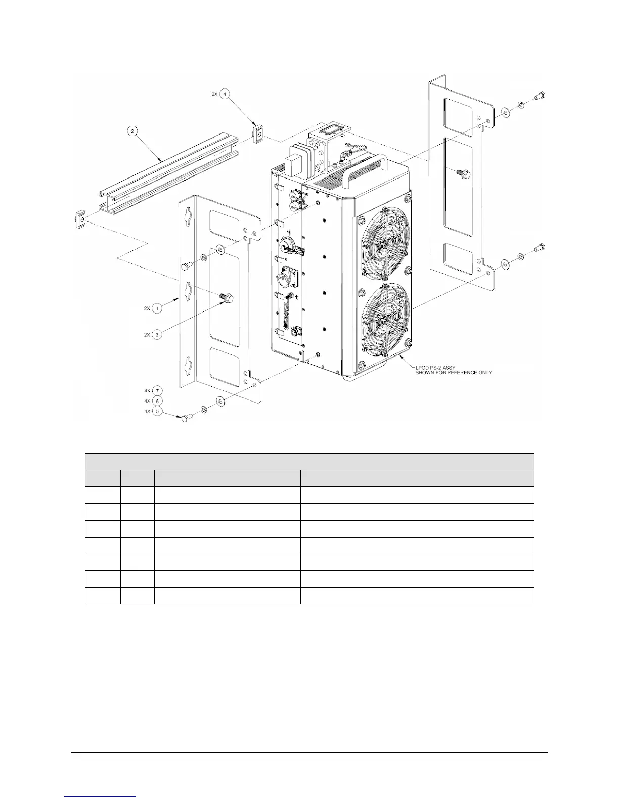
Comtech EF Data LPOD - Figure 2-7. KT-0000125 LPOD PS 2 Single Unit Mounting Kit

Comtech EF Data LPOD
224 pages
Print Icon
To Next Page IconTo Next Page
To Next Page IconTo Next Page
To Previous Page IconTo Previous Page
To Previous Page IconTo Previous Page
Loading...
LPOD Outdoor Amplifier / Block Up Converter Revision 9
System Connections, Installation and Startup MN-LPOD
2–12
KT-0000125 LPOD PS 2 Single Unit Mounting Kit
ITEM QTY CEFD PART NO. DESCRIPTION
1 2 FP-0000677 BRACKET, MOUNTING, SS
2 1 FP/BR0078 BRACKET MODIFICATION POLE MOUNTING KIT
3 2 HW-0000070 SCREW, HEX, SERR FLANGE HEAD, 3/8-16 x 3/4, S.S
4 2 HW/3/8SPRINGNUT SPRING NUT, 3/8-16, SHORT SPRING, SS (P3300)
5 4 HW/5/16-18X3/4B BOLT, HEX HEAD, 5/16-18 X 3/4, SS
6 4 HW/5/16-SPLIT LOCK WASHER, SPLIT, 5/16
7 4 HW/5/16-FLT WASHER, FLAT, 5/16
Figure 2-7. KT-0000125 LPOD PS 2 Single Unit Mounting Kit

Table of Contents

Other manuals for Comtech EF Data LPOD

Related product manuals