EasyManua.ls Logo

Fiat Ducato 2021 - Heating and Ventilation Controls

Fiat Ducato 2021
368 pages
Print Icon
To Next Page IconTo Next Page
To Next Page IconTo Next Page
To Previous Page IconTo Previous Page
To Previous Page IconTo Previous Page
Loading...
KNOWING YOUR VEHICLE
48
HEATING AND
VENTILATION
CONTROLS
CONTROLS
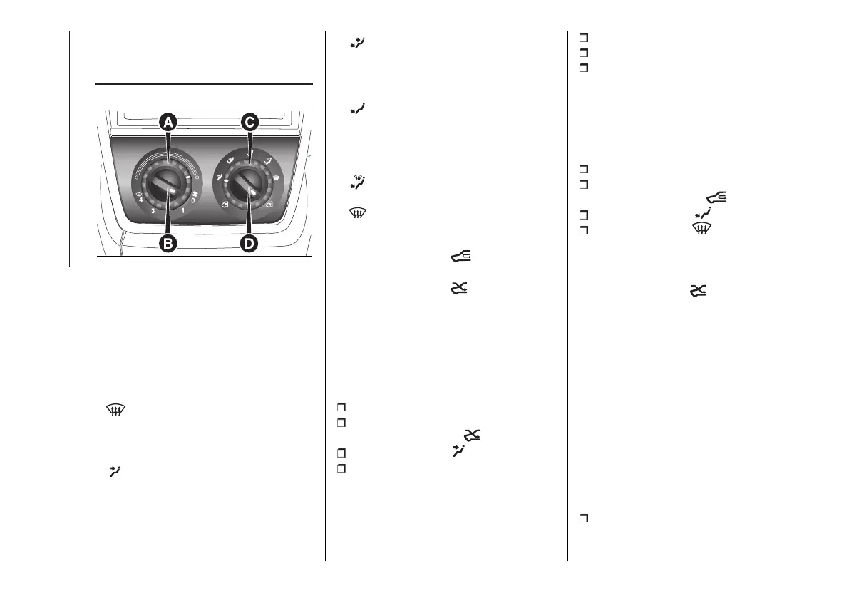
95 F1A0766
Air temperature adjustment ring A
(mixing hot and cold air)
Red section = hot air
Blue section = cold air
Knob B activates/adjusts the fan
0 = fan off
1-2-3 = fan speed
4 = maximum fan speed
Air distribution ring C
to convey air to the central and
side vents;
to warm the feet and convey
slightly cooler air to the
dashboard vents, in intermediate
temperature conditions;
for heating when the outside
temperature is very low: to
direct as much air as possible to
the feet;
to warm the feet and demist the
windscreen at the same time;
for quick windscreen demisting.
Air recirculation on/off knob D
Turn the knob (D) to to activate
internal air recirculation.
Turn the knob (D) to to deactivate
internal air recirculation.
PASSENGER
COMPARTMENT
VENTILATION
To ventilate the passenger
compartment well, proceed as follows:
turn ring (A) to the blue section;
turn off internal air recirculation by
turning the knob (D) to ;
turn the ring (C) to ;
turn knob (B) to the required speed.
PASSENGER
COMPARTMENT
HEATING
Proceed as follows:
turn ring (A) to the red section;
turn ring (C) to the required position;
turn knob (B) to the required speed.
FAST PASSENGER
COMPARTMENT
HEATING
For the fast heating of the passenger
compartment, proceed as follows:
turn ring (A) to the red section;
turn on internal air recirculation by
turning the knob (D) to ;
turn the ring (C) to ;
turn knob (B) to 4 (max. fan
speed).
Then use the controls to maintain
the required comfort conditions and
turn the knob (D) to to turn the
air recirculation off and to prevent
windows from misting up.
WARNING With a cold engine, you
have to wait for a few minutes to let the
system fluid reach optimum operating
temperature.
FRONT WINDOW FAST
DEMISTING/DEFROSTING
(WINDSCREEN AND SIDE
WINDOWS)
Proceed as follows:
turn ring (A) to the red section;

Table of Contents

Related product manuals